Перейти к содержанию

Тарельчатая Колонна Чудо Или Западная Пропаганда.


Сэмогонщик

Рекомендуемые сообщения

Опубликовано

[b][member=Gilgamesh][/b],  Дешевле не колпачки 42 использовать а к кольцам из трубы  верх припаять. я лично так делать буду. 42 на 3 дюйма на мой дилетантский взгляд самое то 

Опубликовано

А я думаю, что влияет не размер колпачка, а количество прорезей в нем. Контакт пара с флегмой (барботаж )происходит на выходе из колпачка (в пропил). Пузырек стремится по кратчайшему пути на верх . Если на 42 колпачке сделать как у меня 17 пропилов в чем будет разница? (подумайте).

Вывод: нужно увеличивать количество пропилов, но с увеличением подводимой мощности нужно прикидывать площади и вот тут может получится, что нужен другой колпачок.

Прикиньте S- 15 трубы, 22 по внутреннему Ф 20. Потом S- колпачка и 22 трубы или 28, смотря как делать будешь ну и посчитай количество пропилов в колпачке. Если нет заужения по площади, нет смысла в 42 колпаке. Ну и прикинь площадь паропровода и подводимую мощность.

По поводу разбора колонны, я ее не разбираю. Единственное новую буду делать так, что бы можно было менять количество тарелок. Типо сделать 4-3-2 (пока не определился). С зерна на 6 тарелках  получается 94%. Запах и вкус пока устраивает (хвостов нет). Пробовал увеличивать дельту температуры, получил 89% (чую хвост). Теперь надо уменьшать и пробовать, ну и думать.

По поводу железа не знаю, но теплопотери на нем будут большие и пристеночный эфект будет, хорошо-плохо незнаю.

У нас в городе сварные взяли за 2 шва Ф35 1000 руб. С такими ценами не из железа, а из золота колонна. А так дешево и красиво, и понять проще если что не так, все видно.

 

PS в Питере 42 колпачек как у нас 35 стоит. А с трубы и пайкой не красиво опять же.

  • + репутация 1
Опубликовано

 

 


Если на 42 колпачке сделать как у меня 17 пропилов в чем будет разница? (подумайте).

    Думаю будет больше площадь контакта с флегмой и это плюс.

Если прикидывать по мощности не больше 3 кВт то один 35 колпачок наверное ее переварит при соответствующих настройках но,а если использовать потенциал 3 дюймов то  колпак большего диаметра уже нужен.

    Себе сейчас не торопясь делаю 4" флейту. На этаж планирую 3 колпачка 35мм из трубы и отдельный перелив. К сожалению мои клампы так еще и не приехали так что возможности проверить в работе пока нет. Варю сам в гараже так что на сварку расходов не будет.

Опубликовано

Площадь контакта флегмы с паром будет равна площади пропилов. Если их 17 то хоть 50 колпак туда ставь, будет тоже самое. А вот площадь тарелки для барботажа (пены) уменьшится.

Насчет 4 дюймов и 3 колпачков наверное зря. Тут где то писали, что на малых диаметрах тарелки, нужно ставить 1 колпачек. Мои мысли если близко стоят колпаки, то пузырек будет встречаться с пузырьком соседнего колпачка, не есть гуд. Все это ИМХО.

Опубликовано

Площадь контакта флегмы с паром будет равна площади пропилов. Если их 17 то хоть 50 колпак туда ставь, будет тоже самое. А вот площадь тарелки для барботажа (пены) уменьшится.

Насчет 4 дюймов и 3 колпачков наверное зря. Тут где то писали, что на малых диаметрах тарелки, нужно ставить 1 колпачек. Мои мысли если близко стоят колпаки, то пузырек будет встречаться с пузырьком соседнего колпачка, не есть гуд. Все это ИМХО.

 

      Если следовать твоим объяснениям, то получается чем меньше диаметр колпачка тем лучше, больше свободная площадь поверхности тарелки. Тогда вообще можно совсем маленький колпак сделать равный диаметру проходного отверстия. Но так вроде не делают. Я лично понял из тог что читал, что имеет смысл делать один колпачок но большого диаметра а не маленького. По поводу поверхности барбатирования хотел бы что бы кто нибудь однозначно пояснил это поверхность тарелки или то место откуда пар из колпачка выходит. Так сказать к чему стремиться:)

    У стилдрагона вроде отлично работают 3 колпака на 4 дюймах. А то что перелив у меня будет отдельно так ни на что не должно влиять. 

Опубликовано

однозначно пояснил

 

Я нашел такое объяснение. Какие из него можно выводы сделать? 

 

post-5681-0-64881600-1491063554_thumb.jpg

 

Мало крупных щелей =то же количесвто пара, но с меньшей скоростью и с меньшей поверхностью.

Много мелких щелей =много пузырьков пара с бОльшей скокростью и большой общей поверхностью + есть надежда что мелкий быстрый пузырь улетит дальше и ещё больше прореагирует с поверхностью.

Кто что думает по этому поводу.

Опубликовано

Вот про несколько колпачков на тарелке

post-5681-0-48615900-1491065181_thumb.jpg

может поэтому не надо нам с нашими диаметрами несколько колпачков, а достаточно одного правильного.

Опубликовано

Совсем маленький колпачек не сделаеш. Площади где идет пар должны быть соответствующими. При увеличении ф колпачка увеличивается длинна дуги окружности (нам это гуд), но напилив в ней много пропилов нужно не переборщить с площадью, можем получить слабый барботаж. Ты хочеш поставить 3 колпачка ф35, либо придется делать мало пропилов, либо мощность вдувать соответствующюю.

Мне кажется лучший вариант, это много пропилов узких и не высоких, но площадь всетаки нужно прикидывать, чтобы не переборщить. Как считать площадь и мощность хз. Книги не читал, свою делал интуитивно.

Опубликовано (изменено)

Кто что думает по этому поводу

Уже писал сто раз - попробуй вместо прорезей в колпачке под колпачок на сам паропровод поставить рулончик медной сетки - получишь белое кипение флегмы на тарелке.

Вариант №2 -  сделать один колпачок с широкой юбкой понизу, в диаметр колонны, В юбке насверлить множество мелких барботажных отверстий. Это вариант ситчатой, но не провальной.

Площадь паропровода ~ 0,1 от площади пропускного сечения колонны, площадь барботажных отверстий = площади паропровода.

Игорь Шульман похожее сделал, но не до конца, у него провальная получилась, а скорость пара увеличилась впечатляюще.

Изменено пользователем Asus
Опубликовано (изменено)
[member=Сибиряк],Asus,я так и собирался сделать один колпак.площадь щелей думаю чуть меньше площади паропровода,но больше площади сливной трубки.про юбку на колпаке думал,но не по диаметру тарелки,а меньше,но пока что только думал.Есть у форумчан нормально работающие ( переделанные несколько раз) колонны- в принципе все известно,а нюансы под себя каждый дорабатывает. Изменено пользователем mafusail
Опубликовано

Коллеги, а с какой навалкой в кубе работаете? Мои эксперименты показывают,что крепость 25-30 градусов не дает положительного эффекта. А вот 15-20 самое то. При таких цифрах очень интересно отходят промежуточные. Начинаются при около 94 в кубе,начало размазанное, нарастание концентрации плавное,есть время для маневра(смена тары). После первых признаков меняю тару,отбираю в пределах 10% от АС, дальше промежуточные кончаются,но тоже плавно,как и начинаются. 10%-это верхний предел,после которого их уже и нету. После отбора промежуточных собираю ароматную воду, которую добавляю в продукт. Не знаю,можно ли так делать,но последствий наутро никаких,хотя я сильно чувствителен к этому делу.

По количеству уровней-3. Я определился. 4-5-вкус получается неявный, пшеница так вообще начинает казенкой отдавать. 6 уровней-вообще перебор. Очень и очень отдаленный признак исходного сырья, а пьется при этом несбалансированно, ступенчато. Сэм-сырье-сэм, и нет того приятственного аромата на вдохе,как при трех уровнях.

Опубликовано

Я заливаю 35-40% в куб. Гоню до последнего до 100С в кубе. Пробовал отсекать на 94С в кубе и потом сравнить, разницу не заметил. Смотрю по автоматике стоп сработал1-2 раза(запотела нижняя тарелка), банку поменял. Результат стабильный 94%. На 6 тарелках исходником можно сказать "прет". Скоро попробую на 4 тарелках, там видно будет. Это по несоложенке.

Вот поставил туту и виноградную пасту от Матоса, пока бродит, а я думаю как гнать.

Опубликовано

Что-бы пар дольше двигался в жидкости в горизонтальной плоскости делают лепестковые тарелки. Либо плоские тарелки с гофрированными краями, фото уже размещал, но повторюсь.

Хороший материал по тарелкам http://www.gaps.tstu.ru/win-1251/lab/ochist/2.html

 

post-1687-0-56244700-1491144668_thumb.jpg

post-1687-0-07650300-1491144679_thumb.jpg

post-1687-0-40490100-1491144698_thumb.jpg

post-1687-0-09707100-1491144701_thumb.jpg

  • + репутация 1
Опубликовано (изменено)

 "К о л п а ч к о в о - с и т ч а т ы е    т а р е л к и. Эти тарелки разработаны фирмой APV - West. Такая тарелка (рис. 10)"(с)

 

Пожалуй это лучший вариант в плане изготовления. Есть правда вопросы по геометрии расположения отверстий сита.

Изменено пользователем Asus
Опубликовано (изменено)

Коллеги винокуры!

Слушая ваши советы, читая форумы, профильную литературу и поразмыслив пришел к такой конструкции. Вариант может и не окончательный, но пока что видится так.

Asus над ситчато-колпачковыми ещё не думал, потому что не знаю "как над ними думать".

Вот что получилось

post-5681-0-22165300-1491321771_thumb.jpg

Итоги свёл в одну таблицу

post-5681-0-03391100-1491321843_thumb.jpg

расчет скорости пара, объёма пара, мощности-может кто то и свой диаметр тарелки найдет

post-5681-0-15230000-1491321942_thumb.jpg

Теперь чем руководствовался:

колпачок один, при наших размерах(уже выкладывал,но повторюсь, чтоб все в одном месте)хватает одного, потому что

post-5681-0-52265000-1491322081_thumb.jpg

В теории надо было бы такие прорези

post-5681-0-41989400-1491322359_thumb.jpg

но делаем маленькие щели (увеличить всегда можно) т.к. хочу чтобы пар сильней вырывался и больше было точек межфазного обновления

post-5681-0-39516600-1491322314_thumb.jpg

и может при нашей мощности войдем в нужный пенный режим

post-5681-0-23371300-1491322653_thumb.jpg

смотрел видео коллег выложенное на форуме, видео стилдрагона- пены там нет.

Думаю наш режим хотя бы вот такой ИМХО

post-5681-0-35947100-1491323985_thumb.jpg

Может она,пена, не нужна нам, сидит у меня в голове фраза земляка, может он пояснит подробно, почему нам интересны малые скорости пара и большие накопления.

Думал про зону успокоения в месте слива, но пока что сомневаюсь.

 

Весь (все имхо) интерес в работе на низких скоростях с большим накоплением, что тащемта и дает мощный инструмент работы с ароматами.

 

Труба нержа, диоптры из молочки-стекла сам вырежу как Добровар,сливы с колонны с каждой тарелки

Вот вроде бы и всё. Прошу критиковать тех кто имеет опыт эксплуатации и тех кто только разрабатывает как я. В общем всех

Чертеж тарелки в натуральную величину с пропорциями.

post-5681-0-98469800-1491324233_thumb.jpg

Изменено пользователем mafusail
  • + репутация 2
Опубликовано

Да вроде все так. Только гидрозатвор не пили по 45, а побольше угол или по другому вообще. Высоту ГЗ лучше делать побольше чем высота перелива (заметно побольше). У меня основные проблемы с ним. Ну и колпачок можно сместить и поставить не по центру, а как на твоем же фото. У меня такие же пропилы и столько же в 35 колпачке идут примерно через 5мм (у тебя получится еще больше). Может их сделать побольше и поуже.

Опубликовано
[member=Сибиряк],угол больше в смысле более тупой и почему?Высота колпачка ГЗ вроде больше чем перелив.Можно сделать и еще больше не проблема.У тебя какие проблемы,пар шел через него?Колпачок думал сместить,но не придумал обоснования зачем его смещать?Только чтоб перелив бОльший сделать?А вот с щелями согласен,но не знаю как и чем их пилить их по 1,5 мм.
Опубликовано

Да пар стремится через ГЗ. А высота его получается от верха наружней трубы до верха внутренней. Чем меньше угол тем выше верх внутренней трубы, соответственно ниже ГЗ.

Как по рисунку у тебя хватает, но просто можно изменить.

По поводу колпачка не знаю, но драконы сместили. Мне кажется не хорошо колпак и рядом слив.

Опубликовано

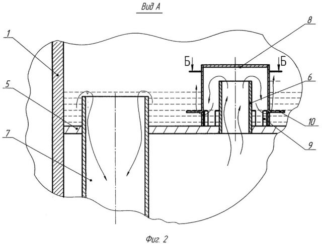
Забугорные товарищи вот так извращаются с формой колпачка, что-бы сделать его как можно больше и применить для перелива трубу большого диаметра, т.к. через больший диаметр продавить ГЗ не представляется возможным и поэтому в качестве стакана применяют обычные заглушки или отводы

post-1687-0-90969900-1491370750_thumb.jpg

post-1687-0-08444400-1491370950_thumb.jpg

post-1687-0-20355200-1491370959_thumb.jpg

  • + репутация 2
Опубликовано

[b][member=mafusail][/b], посмотрев расчеты, мой мозг снова взорвался:) попробовал сделать свои расчеты на бумажке, только под колпачок с центральным переливом, как делал Сибиряк. Возник вопрос по расчету щелей, заглушка на 42мм, тарелка 74мм,  Sщ = 8%Sт(343) > 70%Sпара(337), Если делать щели 1.5*5 Sщ=7,5 в количестве 30шт Sщ.общ=225мм2, что 45% Sпар и 170% Sслива. Это нормальные параметры или должно быть какое-то другое процентное соотношение? Тут я еще не разобрался и не понял как лучше их делать.

Опубликовано

т.к. через больший диаметр продавить ГЗ не представляется возможным

мне кажется утверждение не верным.

Только высота ГЗ имеет значение ИМХО.

Но вот 2 фото сильно меня смутило.

Опубликовано (изменено)

Но вот 2 фото сильно меня смутило.

Еще раз даю ссылку на забугорный ХД тарельчатую тему http://homedistiller.org/forum/viewtopic.php?f=75&t=44113  там и чертежики есть кой-какие с размерами. Модераторы, вставьте эту ссылку в первое сообщение, что-ли, есть там что почитать и посмотреть.

 

 

Только высота ГЗ имеет значение

Сам подумай, по какой трубе легче жидкость вверх поднимать... Изменено пользователем Evgen407
Опубликовано

 

 


вставьте эту ссылку в первое сообщение,
перенес
  • + репутация 1
Опубликовано

подумай, по какой трубе легче жидкость вверх поднимать...

 

встречное предложение. Подумай, как работает гидроуровень, водяной манометр.
Опубликовано

Подумай, как работает гидроуровень, водяной манометр

Ты наверное имел в виду дифференциальный манометр. Так в нем газу (пару), давление которого мы измеряем, больше деваться некуда, кроме как давить на жидкость в U-образной трубке. А в нашем случае есть второй путь наверх через тарелку. Вот теперь и сам подумай...

post-1687-0-74672200-1491418201_thumb.jpg

Для публикации сообщений создайте учётную запись или авторизуйтесь

Вы должны быть пользователем, чтобы оставить комментарий

Создать аккаунт

Зарегистрируйте новый аккаунт в нашем сообществе. Это очень просто!

Регистрация нового пользователя

Войти

Уже есть аккаунт? Войти в систему.

Войти
  • Последние посетители   0 пользователей онлайн

    • Ни одного зарегистрированного пользователя не просматривает данную страницу
×
×
  • Создать...