Андрей751 Опубликовано 25 января, 2017 Опубликовано 25 января, 2017 А где такую нашел? и какой ценник? Может и восмерка со стенкой 0,5 у них есть? https://www.aliexpress.com/item/6x0-3mm-Hard-Condition-SS304-Stainless-Steel-Capillary-Pipe-Small-Industry-Tube-about-500mm-pc-20pcs/32744009576.html?spm=2114.13010608.0.0.EzUB63
POLE Опубликовано 25 января, 2017 Автор Опубликовано 25 января, 2017 (изменено) Стекло купил по случаю в своем городе. В Гусь хрустальном похожий кварц стоит от 6000р. Индукционка 3 квт, планирую стабилизировать температуру 40гр, деформации незначительные. Трубки уже заказаны вн ф5,4 . Мощность ограничена дефлегматором, ХД5-6000, думаю 2 квт. Управлять насосом по температуре в дефлегматоре. Кварц тут не нужен. Индукционка по любому даст немного взрывного кипения. 40 гр вначале или в конце ВД? Если вначале, то нужен вакуум в - 91-92 кПа (почти предел для охлаждения водой). Если в конце, то вакуум нужен в -95кПа (нужна вода на охлаждение 5-10 С). Насчет деформаций не уверен, но ты можешь это проверить. Заказаны так заказаны (ИМХО дороговато). Деф правильный. 2 кВт вытянет. Управлять насосом по температуре не стоит. Лучше делай стабильный вакуум (насос от датчика вакуума), а температура потихонку будет расти пока спирт не кончится в браге. Для процесса ВД с укреплением на многотрубной мультипленочной царге есть одна тонкость - нельзя "запирать" пар в трубках. Поэтому получается как на рисунке отбор по уровню статр/стопом и узел авт.регулировки флегмового числа . Можно конечно игольчатый краник поставить и время от времени подкручивать. Я так делал пока не поставил автоматику старт/стопа по уроню. Можно и по температуре, но не уверен что уровне флегмы останется постояннным или не истощится. Держать постоянным уровень флегмы в межтрубном пространстве значит обеспечивать нужную степень очистки от хвостов. Олег. И все страждущие чудес Здравствуйте! Раскопал в гараже емкость под фреон. как его использовать? Там один вентиль... штуцер врезать? Купил для вакуумной магистрали трубку для компрессора - розовая такая, в насосах автомобильных используется. Навитая типа пружинка. Думаю без фото понятно. - Подойдёт для нашего дела. . диаметр наверное 6 - 8мм. Пока не мерил. Трубка пойдет. Я в баллоне кран наглухо заглушил. Просверлил две дырки сверху по обе сторона крана. В одну впаял длинную трубку, что заходит немного в баллон (входящая от конденсатора). Во вторую кроткую (откачивающая к насосу). Наружу торчат одинаково примерно на 5 см. Работает Изменено 25 января, 2017 пользователем POLE уточнение 2
den45 Опубликовано 26 января, 2017 Опубликовано 26 января, 2017 Кварц тут не нужен. Вот и я к стеклу склоняюсь,термос икеивский ещё не успел распатронить)) Внутренние трубочки тоже стеклянные сделать если всё получится будет аппарат для медитаций https://www.avito.ru/sankt-peterburg/remont_i_stroitelstvo/steklyannye_truby_643521568
POLE Опубликовано 27 января, 2017 Автор Опубликовано 27 января, 2017 (изменено) [member=РоманЫч], так. Но я в своих конструкциях ставлю конуса для равномерного расширения и прохода пара без существенной турбулентности. Только длинную и широкую трубу лучше сажать на 4 шпильки для равномерной протяжки прокладок. Хотя вакуум сам затянет лучше любой шпильки) [member=den45], и мне хочется эстетики и красоты, но что мы там увидим? Трубки и слой слабокипящей флегмы. Мне интереснее момент - как сливается флегма в межтрубное пространство и как вытекает из трубок. Денис - хочешь купить 3 метра стекла? Изменено 27 января, 2017 пользователем POLE
Предбанник Опубликовано 27 января, 2017 Опубликовано 27 января, 2017 Если получится подобрать бюджетный надежный насос это будет интересно. Какие требования к насосу. В понедельник буду разговаривать с кондиционерами)). Нужно озвучить что нужно. Я, кроме слова вакуум нужно- ни чего спросить не смогу. ))
POLE Опубликовано 27 января, 2017 Автор Опубликовано 27 января, 2017 Какие требования к насосу. В понедельник буду разговаривать с кондиционерами)). Нужно озвучить что нужно. Я, кроме слова вакуум нужно- ни чего спросить не смогу. )) По идее , нужен очень специфический насос, который при - 90кПа будет всасывать пар (40-50грС) и выплевывать дистиллят. Получается пищевой супер вакуумный компрессор. Такого у кондиционерщиков нет точно. ИМХО идея революционная (противоречит здравому смыслу - охлаждать и собирать дистиллят в отдельную емкость).
Предбанник Опубликовано 27 января, 2017 Опубликовано 27 января, 2017 который при - 90кПа будет всасывать пар (40-50грС) и выплевывать дистиллят. - разряжение в приёмной ёмкости.... не предполагает прохождение пара через насос. .. такой вариант ущербный?
POLE Опубликовано 27 января, 2017 Автор Опубликовано 27 января, 2017 - разряжение в приёмной ёмкости.... не предполагает прохождение пара через насос. .. такой вариант ущербный? У него по идее нет вакуумированной приемной емкости. Пар сразу в насос и на выходе в атмосферу дистиллят.
deen Опубликовано 27 января, 2017 Опубликовано 27 января, 2017 А греться не будет? Фазофый переход как-никак... Есть пластинчато-роторные нержа, фторопласт, безмасллянные. С жесткой химией работают. Стоят правда как запчасть от боинга.
Предбанник Опубликовано 28 января, 2017 Опубликовано 28 января, 2017 У него по идее нет вакуумированной приемной емкости. Пар сразу в насос и на выходе в атмосферу дистиллят. Олег, я спрашиваю про насос для своей магистрали. Насос всё едино нужен. какой по конструкции (или чего там) предпочтительнее. В понедельник мне что то предложат исходя из того что я спрошу.
POLE Опубликовано 28 января, 2017 Автор Опубликовано 28 января, 2017 [b][member=Предбанник][/b], По типу масляный / безмасляный - лучше безмасляный. Если нет то и масляный одноступенчатый пойдет. 2 ступени это очень большой запас. Минимальные характеристики По вакууму - создаваемое разряжение от - 990 кПа (-0,02 бар, 15 мм рт ст), но масляные имеют более лучшие характеристики (150 микрон это 0,0002 бар остаточного давления, что более чем за глаза) производительность 40-70 л/мин (большая производительность не нужна) Обратный клапан и манометр доп опции (удорожание) их можно сделать самим за недорого. 1
mr_hait Опубликовано 28 января, 2017 Опубликовано 28 января, 2017 [b][member=Предбанник][/b], Однако если в итоге будешь брать масляный, то стоит сразу взять и рем комплект пластин. 1
den45 Опубликовано 28 января, 2017 Опубликовано 28 января, 2017 Денис - хочешь купить 3 метра стекла? Да,что то я загорелся есть подозрение,что стеклянную будет проще собрать чем из нержи. Созвонился с продаваном,живёт он гдето за городом по мурмонке,через неделю вроде в мою сторону собирается обещал привезти...
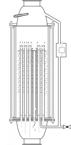
POLE Опубликовано 28 января, 2017 Автор Опубликовано 28 января, 2017 (изменено) Да,что то я загорелся есть подозрение,что стеклянную будет проще собрать чем из нержи. Созвонился с продаваном,живёт он гдето за городом по мурмонке,через неделю вроде в мою сторону собирается обещал привезти... Поделишся? ИМХО проще только в плане силиконовой трубной решетки. Для ВД пойдет. Для Атм дистилляции лучше паять. Можно сделать как на рисунке (если пренебречь зрелищем капающей флегмы из трубок) Изменено 28 января, 2017 пользователем POLE
mr_hait Опубликовано 28 января, 2017 Опубликовано 28 января, 2017 проще собрать чем из нержи. и дешевле в хз скока раз... тоже заинтересовало...
POLE Опубликовано 28 января, 2017 Автор Опубликовано 28 января, 2017 и дешевле в хз скока раз... тоже заинтересовало... Дешевле от того, что экономишь время на пайку и припой. Если делать царгу ф 100 мм нужно подумать о высоте и диаметре трубок, мощности нагрева и скорости погона.
den45 Опубликовано 28 января, 2017 Опубликовано 28 января, 2017 (изменено) Поделишся? ИМХО проще только в плане силиконовой трубной решетки. Для ВД пойдет. Для Атм дистилляции лучше паять. Можно сделать как на рисунке (если пренебречь зрелищем капающей флегмы из трубок) Конечно поделюсь Да силиконовая трубная решётка мне нравится как решение Но есть мысль поднять сборку трубок в цилиндре как раз что бы лицезреть капующею флегму... Изменено 28 января, 2017 пользователем den45
Предбанник Опубликовано 5 февраля, 2017 Опубликовано 5 февраля, 2017 (изменено) уголок для начинающих Предбанник, привет. Как доделаешь, сфоткай, плиз, и подробно опиши схему с "Утесом". шланг для компрессора в месте с коннектами в костараме рублей 270 стоил . коннектор на удивление не травит. поставил его сзади .... шланг очень комфортно обжимается силиконовой трубкой."Утёс" держит о.78 кипение 55грС отбор до 64грС Олег, ты говорил что какой то шланг нужно отключить. ... какой? ))я перевернул этот "краник", но если это обратный клапан - то он у меня не работает. Продувается в обе стороны ... Единственное при закручивание проход воздуха перекрывается. Как я я понял - это устройсвао для сброса разряжения в ёмкости. кто будет делать ресивер, можно без сварки и пайки. в ушастых ручках видны отверстия, по одному с каждой стороны. Можно просверлится под трубку (у меня 10мм) с запасом для силикона. А отверстия в ручках (плюс силикон) будут жёстко фиксировать патрубок.ну и русский быстросъём. наварил на фиксирующию гайку - трубку 10ку.. Изменено 5 февраля, 2017 пользователем Предбанник 3
POLE Опубликовано 5 февраля, 2017 Автор Опубликовано 5 февраля, 2017 Олег, ты говорил что какой то шланг нужно отключить. ... какой? )) Судя по фото, то никакой. У тебя есть реле отключения вакуумной линии от педали (выход сзади коробки). Его можно использовать. перевернул этот "краник", но если это обратный клапан - то он у меня не работает. Продувается в обе стороны ... Это не клапан, а брызгоуловитель. Клапан (шарик) должен быть в больших емкостях, что ты снял. 1
Предбанник Опубликовано 5 февраля, 2017 Опубликовано 5 февраля, 2017 Это не клапан, а брызгоуловитель. Клапан (шарик) должен быть в больших емкостях, что ты снял. про баночку, брызгоуловитель всё понятно. ... я то думал то ты про металлическую часть.Клапан "перелива" есть. ... если его опустить ниже ... то можно выставить необходимый уровень, при котором СС пойдёт в другую ёмкость. В гараже снял подобный только компактнее с куллера. --- Я, вот что не понял... обратный клапан ... если он ставиться на перелив непосредственно в ёмкости, то всё понятно. А в магистраль ... в разрез трубок нужно его устанавливать?...
POLE Опубликовано 6 февраля, 2017 Автор Опубликовано 6 февраля, 2017 обратный клапан ... если он ставиться на перелив непосредственно в ёмкости, то всё понятно. А в магистраль ... в разрез трубок нужно его устанавливать?... Да. Между ресивером и насосом. Только у тебя нет автоматического отключения по заданному значению вакуума. Значит насос будет работать все время. В этом случае обратный клапан ничего не даст. Если только руками (или педалькой) захочешь отключать. ИМХО холодильник (обратная клюшка) маловат. Может для ОМ-1 пойдет, но когда перейдешь на более мощный и вакуум поглубже, насос холодильник понадобится мощнее. 1
Предбанник Опубликовано 6 февраля, 2017 Опубликовано 6 февраля, 2017 (изменено) ИМХО холодильник ( Да... мало. Модифицировал. Вернулся к истокам.)) Достал из под стола. Хорошо не распилил. Прошёлся силиконом. Давление стало более отрицательным.))) Забросил браги, в СС , пока подбирал режимы. Для НДРФ, пойдёт или нужно ещё на рас перегнать? Изменено 6 февраля, 2017 пользователем Предбанник
POLE Опубликовано 6 февраля, 2017 Автор Опубликовано 6 февраля, 2017 [b][member=Предбанник][/b], мутнячок из-за проскока. Думаю что для НДРФ пойдет. 1
Предбанник Опубликовано 6 февраля, 2017 Опубликовано 6 февраля, 2017 Наверное под крышкой травит. Для вакуума нужно мозги разворачивать )))СС идёт циклично, ... с провокацией взрывного кипения... приходится гнать на средней мощности... уж больно долго сохнет силикон )).
POLE Опубликовано 6 февраля, 2017 Автор Опубликовано 6 февраля, 2017 Наверное под крышкой травит. Похоже. Очень ненадежное для вакуума соединение крышка-горло стеклянной банки.
Рекомендуемые сообщения
Для публикации сообщений создайте учётную запись или авторизуйтесь
Вы должны быть пользователем, чтобы оставить комментарий
Создать аккаунт
Зарегистрируйте новый аккаунт в нашем сообществе. Это очень просто!
Регистрация нового пользователяВойти
Уже есть аккаунт? Войти в систему.
Войти