Перейти к содержанию

Тарельчатая Колонна Чудо Или Западная Пропаганда.


Сэмогонщик

Рекомендуемые сообщения

Опубликовано (изменено)

Не знаю насчет 3-х дюймовых, но у меня 50мм-я колонна. Тарелки ситчатые с переливом. Когда уровень перелива снизил с 6 до 4 мм., спиртуозность повысилась при остальных одинаковых условиях. Мне представлялся обратный эффект. Почему так не знаю. Коллега с аналогичной колонной (вместе делали) повторил эксперимент. Результат тот же.

для спирта у меня колонна с насадкой есть, калпачковую делаю для ароматного фруктового дистилята

Изменено пользователем Ф. И. О
Опубликовано

[member=Ф. И. О], будь добр,скрути один колпачок и сфотай втулку,на которой он сидит. Интересует высота подъема отверстий для прохода пара над тарелкой.

 

Мой эксперимент с подъемом уровня флегмы  потерпел фиаско. Перелив-то я приподнял подручным способом,одев кусочки силиконового шланга на переливные втулочки,тем самым подняв их над тарелками. Вполне себе герметично получилось. [attachment=25337:IMG20170316185534501.jpg]

В сравнении со стандартными. [attachment=25338:IMG20170316185706368.jpg]

Запустил.Вполне себе красиво барботирует. [attachment=25341:IMG20170316203306239.jpg] [attachment=25342:IMG20170316203244823.jpg]

Только вот барботирует не из нужного места,не из колпачков,а из перелива.И флегма на нижние уровни не сливается.

Чуть поджал колпачок винтом,полностью открыв переливные отверстия втулочки.Стрелка на первой фотке,там они наполовину закрыты шлангом. А нифига,все равно не льется.

Обкорнал шланг,оставив узенькое колечко.Таким образом,приподняв перелив всего миллиметра на два. Та же картина. Чешу репу,не понимаю,почему лыжи не едут. А слона-то я и не приметил. Во втулках паровых колпачков отверстия для выхода пара(черные точки на втором фото) находятся как раз вровень с переливом в стандартном варианте. И подъем перелива даже на пару миллиметров повышает уровень флегмы и затрудняет выход пара через колпачки.

Походу малой кровью тут не отделаться,придется и втулки новые под паровые колпачки мудрить...

 

  • + репутация 1
Опубликовано (изменено)
 

Без проблем коллега, только со смеху не умри

post-5380-0-33572700-1489745685_thumb.jpg

post-5380-0-88565000-1489745748_thumb.jpg

post-5380-0-99735400-1489745843_thumb.jpg

post-5380-0-70552500-1489746831_thumb.jpg

post-5380-0-92410000-1489746861_thumb.jpg

Изменено пользователем ванечка
  • + репутация 4
Опубликовано

Без проблем коллега, только со смеху не умри

Похоже карелин сам взялся за производство.

  • + репутация 2
Опубликовано

[member=Ф. И. О], будь добр,скрути один колпачок и сфотай втулку,на которой он сидит. Интересует высота подъема отверстий для прохода пара над тарелкой.

 

Мой эксперимент с подъемом уровня флегмы  потерпел фиаско. Перелив-то я приподнял подручным способом,одев кусочки силиконового шланга на переливные втулочки,тем самым подняв их над тарелками. Вполне себе герметично получилось. attachicon.gifIMG20170316185534501.jpg

В сравнении со стандартными. attachicon.gifIMG20170316185706368.jpg

Запустил.Вполне себе красиво барботирует. attachicon.gifIMG20170316203306239.jpg attachicon.gifIMG20170316203244823.jpg

Только вот барботирует не из нужного места,не из колпачков,а из перелива.И флегма на нижние уровни не сливается.

Чуть поджал колпачок винтом,полностью открыв переливные отверстия втулочки.Стрелка на первой фотке,там они наполовину закрыты шлангом. А нифига,все равно не льется.

Обкорнал шланг,оставив узенькое колечко.Таким образом,приподняв перелив всего миллиметра на два. Та же картина. Чешу репу,не понимаю,почему лыжи не едут. А слона-то я и не приметил. Во втулках паровых колпачков отверстия для выхода пара(черные точки на втором фото) находятся как раз вровень с переливом в стандартном варианте. И подъем перелива даже на пару миллиметров повышает уровень флегмы и затрудняет выход пара через колпачки.

Походу малой кровью тут не отделаться,придется и втулки новые под паровые колпачки мудрить...

Походу малой кровью тут не отделаться,придется и втулки новые под паровые колпачки мудрить... Может быть переливной колпачок надо смотреть чтобы через него пар не давил

Опубликовано

Без проблем коллега, только со смеху не умри

 

    Да уж.  Я было подумал что придираешься к качеству. Но ЭТО просто ппц

Опубликовано

 

 


Без проблем коллега, только со смеху не умри
Тезка! Тыб ему в зад это творчество вернул бы. Один х.. все переделывать
Опубликовано

Высоту гидрозатвора надо увеличивать. Ты поднял уровень флегмы на тарелке, тем самым увеличил давление и пару проще проскочить через гидрозатвор. ИМХО.

Опубликовано (изменено)

[member=fatt],Сейчас занимаюсь этим , отправил сообщение в интернет магазин - молчат , на связь не выходят

Изменено пользователем Ф. И. О
Опубликовано

Коллеги всё хорошо выиграл спор у Distillationathome  стоимость заказа ( 5 тарелок )

7 391,24 руб.  возврат средств 4000 руб

  • + репутация 2
Опубликовано

Переделывал недавно шлем на аламбике и придумалось мне встроить в него тарелку, одну большую. Опят есть уже с такими тарелками.  Делал из того, что было под рукой, только конус нижний заказывал. Сам "колпачок" около 180мм в диаметре, одевается на 35мм трубку при помощи соединительной муфты, впаянной в "колпачок", перелив со стаканом. В шлем встроена спираль Архимеда из 8мм трубки, так делают бразильцы в своих аламбиках для кашасы. Вот такая "колонна" получилась. Испытывал один раз, оставался СС сахарно-меласный. На выходе дистиллят 85-90°.

Вроде как спонтанно все получилось, а на деле очень даже ничего. Сейчас еще запчасти приедут, сделаю вторую тарелку и буду кукурузную ставить, хочется на зерне испытать.

Можно использовать и просто как шлем, колпачок убираем, наверх другой шлем без спирали ставится.

 

post-1687-0-03099200-1489867613_thumb.jpg

post-1687-0-26525100-1489867622_thumb.jpg

post-1687-0-04673500-1489867627_thumb.jpg

post-1687-0-19797200-1489867646_thumb.jpg

post-1687-0-39455100-1489867669_thumb.jpg

Опубликовано

Вот не пойму,у карелинских отверстия в паровых колпачках не на одной оси,а в шахматном порядке.Это кривизна рук или так и задумано?

 

Коллеги всё хорошо выиграл спор у Distillationathome  стоимость заказа ( 5 тарелок )

7 391,24 руб.  возврат средств 4000 руб

Во,по пиццод рублей за штуку уже ближе к реальному ценнику.

 

 

Высоту гидрозатвора надо увеличивать. Ты поднял уровень флегмы на тарелке, тем самым увеличил давление и пару проще проскочить через гидрозатвор. ИМХО.

Как-то туго я соображаю,каким образом это сделать,подскажи,пжл.

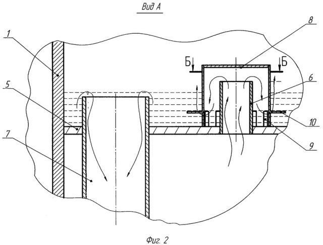
Вот разобранная конструкция. Верх перелива находится в аккурат по нижнему краю парового отверстия.Чуть приподнимаешь уровень флегмы-пар капризничает.

Как повысить уровень ГЗ? Переливную втулку подлиннее(под тарелкой) и колпачок повыше?post-5537-0-28616400-1489946653_thumb.jpg

 

 

Опубликовано

[b][member=Skobar][/b], гидрозатвор это колпачок который внизу тарелки ( низ переливной тарелки )


[b][member=Skobar][/b], кривизна рук или так и задумано? КРИВИЗНА ГОЛОВ И РУК

Опубликовано (изменено)

     Я так мыслю, что не имеет  решающего значения высота гидрозатвора под колпачком на работу колонны на нормальной мощности. 

Имею ввиду рабочий колпачок который сверху

Изменено пользователем Urajan
Опубликовано (изменено)

[member=Urajan], Сверху паровые колпачки, и пар должен проходить сквозь фпегму, а снизу гидрозатвор (переливная тарелка )

Изменено пользователем Ф. И. О
Опубликовано

     Я так мыслю, что не имеет  решающего значения высота гидрозатвора под колпачком на работу колонны на нормальной мощности. 

Имею ввиду рабочий колпачок который сверху

Ребята, ну всё же очень просто. Паровпускной патрубок под любым видом колпачка, должен быть значительно выше чем переливная трубка. А переливой патрубок  значительно выше чем паровыпускные щели на колпачке. Тогда массообмен пара и жидкости будет эффективным.

Опубликовано

Вниз G образную трубку и будет нормальный затвор.

Опубликовано
[member=Urajan],имеет,испытал на себе,переделывал несколько раз.у меня при коротких ГЗ под тарелкой- пар сифонил через сливную трубку,сейчас стоят длинные трубки,на фото видно.и впредь не меньше буду делать.не знаю как и почему у кого то работают низкие ГЗ,у меня не пошли они.цена вопроса копейки,ты же трубку не миллиметрами покупаешь,а метрами,ну так и нарезажь ГЗ по 40-50 мм
Опубликовано
[member=mafusail],
Этот сумашедший крендель с хд слепил это убожество, спецом что бы доказать (хотя его никто не просил) что он один прав, он еще помню написал, что если докажет , то забанет меня на хд на вечно, тогда хлопчики вступились и "спасли" меня в тот раз... полнода я еще тусил на хд, потом он всех забанил :)
В общем колонна та как работает и что выдает одному усатому известно... и есно делал он ее что бы доказать полезность своих недопердушек которые он называет тарельчатыми колоннами... обрати внимание на конструкцию колпаков, это какие то пивные пробки с дырками , по сути колонна практически провальная , а не колпачковая
[member=Kasperys],
Да нет Игорек утверждал что 12 это рабочая мощность, я его спросил как же так все гонят на 7 , когда он заЯвил , что для 4 " МИНИМУМ НАДО 12 и понеслась с оскорблениями и проч. И родилась эта колона с "пивными пробками".
Я там пытался , что то про оптимальный режим спрашивать, но получил лишь ушат говна и угрозы забанить всех несогласных

получили. Отсюда и стилдрагоновская конва про объем куба и низкие мощности


Ячет пропустил, давно в тему не заглядывал... к какому соотношению пришли?
  • + репутация 1
Опубликовано
[member=Naruto],да у него нет парового патрубка под колпаком. И низкие ГЗ под тарелкой.
Опубликовано (изменено)

Ребята, ну всё же очень просто. Паровпускной патрубок под любым видом колпачка, должен быть значительно выше чем переливная трубка. А переливой патрубок  значительно выше чем паровыпускные щели на колпачке. Тогда массообмен пара и жидкости будет эффективным.

 

      Стиллдрагоновские про колпачки неплохо работают, хотя там перелив сделан внутри колпачка  т.е. изначально гораздо выше паровпускной трубки. 

 

mafusail  а ты уже собрал колонну что ли? Давай фотки и отчет в студию.

Изменено пользователем Urajan
Опубликовано

[b][member=Skobar][/b],

Смотри, есть высота перелива на тарелке, есть высота жидкости в ГЗ под тарелкой. Где высота меньше туда пар и прет. У меня конструкция как на стр 20 ветки, посмотри там с размерами.

 

Как повысить уровень ГЗ? Переливную втулку подлиннее(под тарелкой) и колпачок повыше?

 

Правильно понимаешь, только смотри отверстия делай в самом низу. Высоту считать надо от верха отверстия до верха колпачка и она должна быть больше высоты перелива на тарелке.

  • + репутация 1
Опубликовано

Фото и схемы в основном с забугорных сайтов. Для информации.

post-1687-0-51581800-1489988719_thumb.jpg

post-1687-0-84981200-1489988726_thumb.jpg

post-1687-0-42117800-1489988732_thumb.jpg

post-1687-0-14572300-1489988746_thumb.gif

post-1687-0-08941000-1489988759_thumb.jpg

post-1687-0-84943900-1489988785_thumb.jpg

post-1687-0-13287400-1489988787_thumb.jpg

post-1687-0-90684800-1489988796_thumb.jpg

post-1687-0-62541700-1489988823_thumb.jpg

post-1687-0-02230000-1489988864_thumb.jpg

post-1687-0-10375200-1489988865_thumb.jpg

post-1687-0-96458700-1489988891_thumb.png

post-1687-0-76388300-1489988892_thumb.png

post-1687-0-56181200-1489988893_thumb.png

post-1687-0-88716700-1489988931_thumb.jpg

  • + репутация 9
Опубликовано

mafusail  а ты уже собрал колонну что ли? Давай фотки и отчет в студию.

 

ситчатую собрал, а-ля 223, и гидрозатворы переделывал, сделал высокие, фото выкладывал.Еще раз

были низкие,не работали,пар шел через ГЗ 

post-5681-0-02819300-1489995062_thumb.jpg

переделал стали высокие

post-5681-0-87515700-1489995292_thumb.jpg

Под ГЗ имею ввиду стаканчик под тарелкой.

Почему не работало у меня не знаю, у других судя по фото работает, но для себя решил буду делать высокие. Плюс если захочешь по какой то причине увеличить уровень флегмы, ты не поднимешь его (уровень) выше чем высота ГЗ. А как тут пишут, прелесть флейт в высоком уровне флегмы и малых скоростях пара.

 

ИМХО весь цимус тарельчатых именно в способности накопления, что собственно и дает тот интересный "вкусный" результат, который на настоящий момент многие получили. Отсюда и стилдрагоновская конва про объем куба и низкие мощности.

  • + репутация 1

Для публикации сообщений создайте учётную запись или авторизуйтесь

Вы должны быть пользователем, чтобы оставить комментарий

Создать аккаунт

Зарегистрируйте новый аккаунт в нашем сообществе. Это очень просто!

Регистрация нового пользователя

Войти

Уже есть аккаунт? Войти в систему.

Войти
  • Последние посетители   0 пользователей онлайн

    • Ни одного зарегистрированного пользователя не просматривает данную страницу
×
×
  • Создать...