Добровар Южный поток Опубликовано 21 июля, 2016 Автор Опубликовано 21 июля, 2016 меньше 10 см не имеет смысла ставить тарелки, имхо... Андрей это твое предположение или есть версии что мень 10 см не работает а если и работает то результат хреновый. Я думаю что моя идея для меня лично интересная и я хочу ее осуществить, плохо что я в погонах хреново разбираюсь особенно на флейте, поэтому с вашей помощью за что весьма благодарен хочу сделать тесты данного аппарата. Хочу сделать себе дома цех для разных перегонок и там все на практике впитать, на данный момент идет ремонт теперь кухня у меня будет примерно 50 кв вот где можно будет развернутся Хреново что нескем мне все это делать нет рядом не одного самогонщика. тел. 89654225555 "Южный поток"
alexeyT Опубликовано 21 июля, 2016 Опубликовано 21 июля, 2016 сивуха .... в элегантный самогон." в ЗАЛУПУ она преобразуется . на воротник сколько было - столько и осталось... просто эфирами ароматическими забивается. вот и не чуешь... раз десять уже народу предлагал - 100 мл вишенки + 10 мл ИА. попробуй - УЧУЙ ИА.... только после приема, когда сердечко прыгать начнет нема желающих... 1
Kasperys Опубликовано 21 июля, 2016 Опубликовано 21 июля, 2016 Коля .вся сивуха - твоя.... ВСЯ! А производители коньяков/кальвадоса/виски и т.п. то и не в курсе! ;) Просто жабиться с дожимом хвостов не надо и сивухи будет более чем в меру. Для производства ароматных дистов надо 3-5 (5 дадут около 92°), а вот далее строить башни тарелок смысла нет - тут уж переходить на насадку. [b][member=Добровар][/b], высота между тарелками зависит от подаваемой мощности, вида барботажа, захлебной мощности. В пенном в 2,5 дюймах наблюдаю пену 5-6 см. Дальше пузыри обычно лопаются. Тут надо экспериментировать с конкретным конструкцией. Посмотреть насколько высока пена в предзахлебе. Провангую: продажа твоих тарелок (у них очень рациональное крепление в 3 дюймах) может быть экономически целесообразней, чем флейт ;). Их легко можно монтировать просто в трубу 3 дюйма, если пробить в тарелках по 2 отверстия и через них закрепить направляющие, а эстеты пусть сами развлекаются доппереливами и т.п.
alexeyT Опубликовано 21 июля, 2016 Опубликовано 21 июля, 2016 А производители коньяков/кальвадоса/виски и т.п. то и не в курсе! очень даже в курсе... если тебе здоровье позволяет ЭТО пить, то мне - НЕТ... простеший эксперимент. выпиваем по 500 мл. я - НДРФ, 94% Ты - шмурдяк фруктовый после 3 ФТ и дуем в алкометр, через 8 часов.... 1
ванечка Опубликовано 21 июля, 2016 Опубликовано 21 июля, 2016 (изменено) только после приема, когда сердечко прыгать начнет дядька да я то понимаю... тарелками наелся до сих пор отрыжка... А производители коньяков/кальвадоса/виски и т.п. то и не в курсе! Олег, каждому свое. я не против тарелок. для себя сделал вывод. потерял время и средства. но оно того стоило. против неразумного применения и непросчитанного конструктива. помнишь анекдот про нюанс? вот с тарелками также. спорить и оспаривать нет желания. любая железка имеет право на жизнь. просто нужно понимать. что, для чего, и не забывать о последствиях. Изменено 21 июля, 2016 пользователем ванечка
Kasperys Опубликовано 21 июля, 2016 Опубликовано 21 июля, 2016 [b][member=alexeyT][/b], ну шмурдяк не шмурдяк, а 500 своей а-ля бурбон с 4 х тарелок выпивал - на утро ничего не болит - правда еще не трезв. Алкотестер максимум покажет твою индивидуальную способность по переработке алкоголя - она у каждого своя. https://ru.wikipedia.org/wiki/Токсикология_этанола Скорость опьянения и его интенсивность различна как у разных народов, так и у мужчин и женщин (это обусловлено тем, что изоферментный спектр фермента алкогольдегидрогеназы (АДГ) генетически детерминирован — активность различных изоформ АДГ имеет четко выраженные различия у разных людей)[1]. А также зависит от массы тела, роста, количества выпитого алкоголя и вида напитка (наличие сахара или дубильных веществ, содержание углекислого газа, крепость напитка)[1]. Для определённого человека приблизительная концентрация может быть рассчитана по формуле Э. Видмарка. Расчёт алкоголя в крови по этой формуле даёт возможность по количеству выпитого алкоголя спрогнозировать максимально возможную концентрацию этанола в крови или, наоборот, при известной концентрации этанола в периферической крови высчитать количество выпитого алкоголя[3]. Травимся мы не столько примесями (они дают допосложнение) - сколько продуктами распада Другой фактор, содействующий похмелью, — это образование продуктов распада этанола в печени: Этанол → Ацетальдегид → Уксусная кислота В печени происходит промежуточное превращение (окисление) этилового спирта в ацетальдегид с помощью фермента алкогольдегидрогеназы, а затем идет превращение ацетальдегида в уксусную кислоту с помощью фермента ацетальдегиддегидрогеназы. При избытке алкоголя в крови ферментные системы не справляются с полным превращением ацетальдегида в уксусную кислоту[7][8][9][10], в результате он накапливается в организме. Ацетальдегид (этаналь) в 10—30 раз токсичнее самого алкоголя.[11] Кроме того, алкоголь вызывает образование фермента CYP2E1, который сам может образовывать токсины и свободные радикалы.[12] любая железка имеет право на жизнь. просто нужно понимать. что, для чего, и не забывать о последствиях. согласен.
alexeyT Опубликовано 21 июля, 2016 Опубликовано 21 июля, 2016 (изменено) [member=Kasperys], ОТЛИЧНО!!! высылать тебе пробничек? 100+10ИА ? от 40 мл АС , точнее - от продуктов его распада ТОЧНО ничего не будет... а вот 10 мл ИА.... думаю, не помрешь... но под капельницу угодить можно Изменено 21 июля, 2016 пользователем alexeyT
Kasperys Опубликовано 21 июля, 2016 Опубликовано 21 июля, 2016 (изменено) Алексей, ты предлагаешь искусственно созданный продукт. При этом доза не далеко от летальной - идешь под УК по убийственным (от доведения до самоубийства до преднамеренного). Поэтому лучше никому не предлагай. Изоамиловый спирт в 10—12 раз токсичнее, чем этиловый. Он действует на центральную нервную систему, обладает наркотическими свойствами. При приеме изоамилового спирта появляется головная боль, тошнота, рвота. Симптомы отравления проявляются уже после приема внутрь 0,5 г изоамилового спирта. Смерть может наступить после приема внутрь 10—15 г этого спирта Метаболизм. Часть дозы изоамилового спирта, поступившего в организм, превращается в альдегид изовалериановой кислоты, а затем в изовалериановую кислоту. Некоторое количество неизмененного изоамилового спирта и указанных выше метаболитов выделяются из организма с мочой и с выдыхаемым воздухом. У лиц со слабым звеном метаболизма метила в качестве побочного продукт образуется триметиламин. Бактерии метаболизируют триметиламин человеческого пота в очень зловонные изовалериановую кислоту и андростены - причина неприятного запаха тела. Триметиламин, то самое летучее соединение, которое пахнет гниющей морской рыбой. Триметиламин выводится из организма человека через пот и мочу. Поэтому надо не дуть в алкотестер, а нюхать . Скажи, с каком момента я с 4 тарелок получу такую смесь? Стандартное кол-во изоамила в картофельно-зерновых брагах 0,008%, т.е. в 100 литрах (9% браги) его около 8 мл. Если он полностью отожмется в СС, то 8 мл уйдут в 22 литров СС 40% (9 литров АС), т.е. в 1 литре СС его будет 0,36 мл, чтобы появились симптомы отравления ИА просто СС с прямотока мне надо выпить минимум 1 литр (правда к этому моменту я буду уже лежать от этанола)). Я уже не говорю о втором перегоне с тарелками - особенно если рубить хвосты с 92С. Тарелки - это ступенчатый процесс, который более четко предсказуем, что непрерывный с насадкой на малых царгах. Именно поэтому тарелки удобнее, когда надо делать фруктовые и зерновые дистилляты. Изменено 21 июля, 2016 пользователем Kasperys
alexeyT Опубликовано 21 июля, 2016 Опубликовано 21 июля, 2016 (изменено) 1. скажи, с каком момента я с 4 тарелок получу такую смесь? ИА сразу полетит. с СС менее 40%. и будет некоторое время бултыхаться на твоих ФТ 2. если рубить хвосты с 92С. это 11% в кубе. более ЧЕТВЕРТИ от полученного при первом перегоне. и концентрация ИА в отбранном тобой "теле" будет поболее, чем в СС так что Ваши "рубки" - сказки для идиотов, да еще теряющих более 25% АС на дистилляции... 3. 0.008 % - это уже вообще ЧУШЬ. Подавляющее большинство ГХ от Петровича говорят о 5-8 г (граммах!!!) на 1 л АС и практически НЕ зависят от исходного сырья. да и в букварях - примерно те же цифирки 4. Изменено 21 июля, 2016 пользователем alexeyT 1
fatt Опубликовано 21 июля, 2016 Опубликовано 21 июля, 2016 выпиваем по 500 мл. я - НДРФ, 94% Ты - шмурдяк фруктовый после 3 ФТ и дуем в алкометр, через 8 часов.... alexeyT, ну шмурдяк не шмурдяк, а 500 своей а-ля бурбон с 4 х тарелок выпивал - на утро ничего не болит - правда еще не трезв. Алкотестер максимум покажет твою индивидуальную способность по переработке алкоголя - она у каждого своя. Мужики! Вы про что? Выж вроде опытные синяки! Это все от настроения и задачи! Ежели романтизьм присутствует и в планах пробухать до утра и встретить мутным взглядом рассвет - ИМХО ниче лучше легонькой граппы нет, ежели ебнуть, заснуть и на работу - так водочки! Наличие тарелок никак не отменяют насадковую и прямоток.
alexeyT Опубликовано 21 июля, 2016 Опубликовано 21 июля, 2016 (изменено) ниче лучше легонькой граппы 2 года проработал в Италии таковой НЕ встречал... Далее, на 3-7 ФТ - головы толком не отберешь. или спирта до хрена улетит. а ежели фрукты - так оно и не к чему.... Алкотестер поутру как раз высвечивает остатки этилового ИЛИ наличие эфирных компонентов. уже много раз сталкивались - ПЕРЕГАР (сивушные остатки) есть, а промилей - НЕТ - сивуху эти тарелки НЕ убирают. а практически полностью перекачивают в тело. а при различного вида "рубках" - еще и увеличивают ее концентрацию Изменено 21 июля, 2016 пользователем alexeyT
serafh Опубликовано 21 июля, 2016 Опубликовано 21 июля, 2016 2 года проработал в Италии Наверняка в СИЦИЛИИ с Доном Винченцо Сообщение отражает мнение автора (imho)
fatt Опубликовано 21 июля, 2016 Опубликовано 21 июля, 2016 сивуху эти тарелки НЕ убирают. а практически полностью перекачивают в тело. Таки я не спорю. В граппах итальянских не петрю. Но легонькую( зимний светлый виноматериал) виноградную кушаю аккурат при ночных застольях, оч хорошо кушается и много и вкусно, мягонько убираешься, без всякого дурняка, агрессии и неожиданной потери сознания, правда трезвеешь только к вечеру С ндрф (ой не люблю этот термин) у меня так не выходит. Ну эт все индивидуальные пристрастия - флуд в общем.
Naruto Опубликовано 21 июля, 2016 Опубликовано 21 июля, 2016 (изменено) Андрей это твое предположение или есть версии что меньше 10 см не работает Я не большой специалст (те не специалист от слова совсем), общался год назад с чуваком который занимается изготовлением пивоварен и так же балуются колоннами (Усатый там рядом не валялся) так вот этот чувак сильно хвастался, что они вот спроектировали колонну (тарелки) у которой межтарельчатое 10 , а не 15 см и это представлялось как великое достижение.... речь шла о колонне с 30 тарелками физическими... вообще все в литературе описано про тарелки, если ты действительно хочешь спроектировать колонну правильно, думаю лучше читать , а здесь советоваться это домыслы свои и чужие из пустого в порожнее толочь. И без анализа продукта полуаемого на колонне вообще никак не понять стоит ли чего твоя конструкция или нет, а тем более если отходить от распространенных вариантов в частности с межтарельчатым пространством. все ИМХО. Изменено 21 июля, 2016 пользователем Naruto 1
fatt Опубликовано 21 июля, 2016 Опубликовано 21 июля, 2016 вообще все в литературе описано про тарелки В студию особливо о межтарельчатом в 100-150 З.Ы. чет форум уверенно к современному хд скатывается. Видать общий тренд. 1 1
ванечка Опубликовано 21 июля, 2016 Опубликовано 21 июля, 2016 общий тренд Паша с чего такой вывод? странный.кому нужны тарелки, их сделает или купит. я их делал, разных. ну разве что в большие диаметры не лазил ибо нет мощностей таких. одно понял совершенно отчетливо. не мое. не нужно это мне. что обязательно в каждом посте повторять то, что за годы по этому поводу было перетерто? я не хочу.
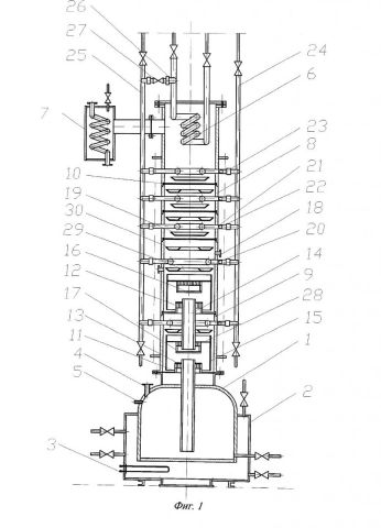
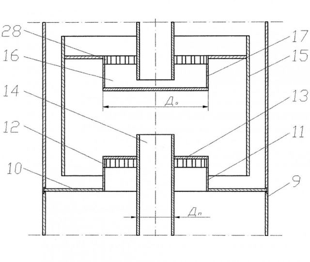
Добровар Южный поток Опубликовано 21 июля, 2016 Автор Опубликовано 21 июля, 2016 Вот то о чем я говорил по тарелкам. Ректификационная колонна состоит из куба 1, снабженного теплообменной рубашкой 2, нагревателями 3, системой технологических парубков 4, и бобышек под приборы автоматизации 5. А также включает дефлегматор 6, конденсатор 7, корпус с технологическими патрубками 8, состоящий из царг 9, в которых размещена горизонтальная перегородка 10 с отверстиями. В нижней части колонны горизонтальные перегородки 10 снабжены контактными патрубками 11, включающие завихритель с тангенциальными каналами 12, отбойное устройство 13, патрубок для отвода жидкости 14, внешний цилиндр 15 и гидрозатворную полость 16, выполненную из цилиндрического гидрозатворного стакана 17. В паровом пространстве царг 9 под горизонтальными перегородками 10 установлены змеевики 18, снабженные хотя бы одной пластиной 19, отбортованной с торцов вверх и горизонтально установленной с зазором под витком змеевика 18, выполненные из трубок 20, в которых размещены дросселирующие устройства 21, например изготовленные из циллиндрической втулки с калибровочным отверстием 22 для создания заданного расхода хладагента. Концы трубок 20 соединены при помощи муфт 23 с системой теплоносителя, состоящей из трубопроводов подвода холодной воды 24 и отвода нагретой воды 25, причем верхняя часть трубопровода 25 соединена со штуцером 26 для подачи хладагента в дефлегматор 6 с патрубком 27. На верхнем конце цилиндрических гидрозатворных стаканов 17 установлен дополнительный тангенциальный завихритель 28. Причем нижние торцы внешнего цилиндра 15 и патрубка для отвода жидкости 14 размещены ниже каналов для прохода пара в тангенциальных завихрителях 12 и 28. На пластинах , отбортованных с торцов, 19 могут быть выполнены отбортованные отверстия 29. В зазоре между горизонтальными перегородками 10 и змеевиками 18 установлена распределительная отборная шайба 30. В паровом пространстве царг 9 размещен хотя бы один дополнительный змеевик 31 (фиг. 6), снабженный дополнительной пластиной 32, отбортованной с торцов. Царги 9 стянуты между собой шпильками 33 (фиг. 2 ). Ректификационная колонна работает следующим образом. Пары смеси поднимаются из куба 1 колонны, проходят через каналы тангенциальных завихрителей 12 и 28, размещенных в нижней части колонны, взаимодействуют со стекающей жидкостью на горизонтальных перегородках 10, образуя развитую межфазную поверхность и интенсивный массообмен. При этом часть поднимающегося пара конденсируется на поверхности змеевиков 18 с образовыванием флегмы, которая затем стекает на отбортованные пластины 19, нагревается там поднимающимися парами, что обеспечивает ее частичное испарение и образование конденсата на ее внешней поверхности, что способствует укреплению пара по высоте колонны. Затем пары смеси поступают на верхнюю (укрепляющую) часть колонны, а жидкость по патрубкам 14 поступает в куб. Пары проходят через отверстия в горизонтальных перегородках 10 и частично кондесируются на поверхности змеевиков 18 с образованием дополнительной флегмы, которая стекает на пластины 19 или дополнительную пластину 32 и испаряется с поверхности слоя жидкости, образованного на них, а затем стекает на перегородки 10. Откуда жидкость через отверстия поступает на отбортованные шайбы 30, а затем перетекает на нижележащую горизонтальную перегородку. На выходе с верхней царги укрепленные пары поступают в дефлегматор 6 с образованием флегмы, а затем в конденсатор 7, откуда жидкость отводится в виде дистиллята. Подвод охлаждающей воды в змеевики 18 осуществляется по трубопроводу холодной воды 24 в дросселирующие устройства 21 и отвод нагретой воды - по трубопроводу 25. Нагретая вода через штуцер 26 подается в дефлегматор 6. Предлагаемая ректификационная колонна по сравнению с известными позволяет увеличить эффективность ступеней, уменьшить габариты колонны и повысить ее разделяющую способность, что снижает капитальные и текущие затраты, а следовательно, уменьшает себестоимость выпускаемого продукта. 1 тел. 89654225555 "Южный поток"
Asus Опубликовано 22 июля, 2016 Опубликовано 22 июля, 2016 (изменено) Вадик не заставляй мозгу трудиться, всуе это, и грозит большим геморроем!) Лучше напиши как принято в патентной формуле - отличительной особенностью данной колонны является наличие "тра-та-та", позволяющее получить "ту-ру-ру" за счёт эффекта "трам-тара-рам" - и все геморрои форума сдуются без ущерба для тупорылого человечества!) Изменено 22 июля, 2016 пользователем Asus
БайбаК Опубликовано 22 июля, 2016 Опубликовано 22 июля, 2016 [b][member=Asus][/b],лучше бы вы сударь тут не тра та та... человек мыслит , а следовательно существует. :-)
кило115 Опубликовано 22 июля, 2016 Опубликовано 22 июля, 2016 Паша с чего такой вывод? странный. кому нужны тарелки, их сделает или купит. я их делал, разных. ну разве что в большие диаметры не лазил ибо нет мощностей таких. одно понял совершенно отчетливо. не мое. не нужно это мне. что обязательно в каждом посте повторять то, что за годы по этому поводу было перетерто? я не хочу. Коль,пока с тобой полностью солидарен.Насадочная проще и дешевле.предоставленный мне образец на понюхать Доброваром пах портянками.Ибо не правильно был отогнан.Гнали с вина и сразу в продукт.На ошибку я ему указал и сказал что надо гнать со СС.Но всё равно СПН проще и легче,тем более когда подгонишь её под свои задачи с помощью высоты,крупноты и мателиала насадки 1 1 Алкаши бывают пьющие и не пьющие.Я не пьющий
Добровар Южный поток Опубликовано 22 июля, 2016 Автор Опубликовано 22 июля, 2016 (изменено) [member=кило115], Геннадий так в чем вопрос! гоните на насадки как и гнали. но не надо говорить что лучше а что хуже все равно не будет однозначного результата. Как говориться кайфует каждый по своему. Я не на столько спец что бы что конкретно утверждать но скажу однозначно что колпачковая колонна имеет место в своей иерархии изготовления продукта и такой продукт однозначно будет выше чем на насадке. Дистилляция это дистилляция а не ректификация!!! А по поводу моего продукта который я дал тебе понюхать что не так! я ведь пояснил что там есть хвосты, которых можно было избежать, я хотел чачу я ее получил. И давайте по существу поговорим, если конечно есть что сказать. Изменено 22 июля, 2016 пользователем Добровар 2 тел. 89654225555 "Южный поток"
capsolo Опубликовано 22 июля, 2016 Опубликовано 22 июля, 2016 По существу у тарельчатой шире рабочий диапазон, по сравнению с насадкой, гнать можно хоть на дровах, количество тарелок фиксировано в широком диапазоне фч - не надо думать что получится: ставишь количество тарелок под сырье и гонишь. Скорость отгона в разы выше, чем на аналогичной насадочной с тем же диаметром и тем же количеством ТТ. Нет пристеночного эффекта. Вывод: регулярная насадка в пользу бедных с низкими потолками 1
Kasperys Опубликовано 22 июля, 2016 Опубликовано 22 июля, 2016 (изменено) Вообще самое красивое флейта из стекла. Боросилликатная труба стоит за рубежом 71 бакс (оптом от коробки 52) 1,5 метра http://www.mountainglass.com/Simax-Extra-Heavy-Wall-Tube-80mm-4.html?sc=2&category=52#.V5KPAVJkiM8 ,с учетом доставки, таможки даже если станет 110-120, то стекло на царгу по 75 см длины будет стоить в районе 4 тр. + фланцы (круги+соединения) + тарелочки - в одну от царгу от 3-4 до 7 вставить можно. Зато геммора со сваркой практически нет. Изменено 22 июля, 2016 пользователем Kasperys
Добровар Южный поток Опубликовано 24 июля, 2016 Автор Опубликовано 24 июля, 2016 [b][member=Kasperys][/b], Как ты думаешь что бы порезать эту трубу на кольца сколько это станет? тел. 89654225555 "Южный поток"
кило115 Опубликовано 24 июля, 2016 Опубликовано 24 июля, 2016 И давайте по существу поговорим, если конечно есть что сказать. Не правильно гнать с вина.На этой флейте надо гнать со СС Вывод: регулярная насадка в пользу бедных с низкими потолками Вообще то Бабайка свой дист на насадочной делает Алкаши бывают пьющие и не пьющие.Я не пьющий
Рекомендуемые сообщения
Для публикации сообщений создайте учётную запись или авторизуйтесь
Вы должны быть пользователем, чтобы оставить комментарий
Создать аккаунт
Зарегистрируйте новый аккаунт в нашем сообществе. Это очень просто!
Регистрация нового пользователяВойти
Уже есть аккаунт? Войти в систему.
Войти