S66 Опубликовано 22 октября, 2021 Опубликовано 22 октября, 2021 (изменено) 2 часа назад, moroz-85 сказал: Первый - кубовый, второй - непрерывный Вы это серьёзно? Вы умеете читать чертежи? Неужели за пять лет, что вы изучаете эту тему, вам не сказали что вы собрали систему Гана? В самом патенте линаса все сказано - читаем Цитата Известны способы точного разделения смесей с применением гомотермических дефлегматоров, в которых конденсационное пространство окружено жидкостью или паром с постоянной температурой, поддерживаемой вблизи температуры кипения перегоняемой жидкости. Сюда относятся дефлегматоры (биректификаторы) Голодеца для низкокипящих смесей, дефлегматоры системы М. Тихвинского для высококипящих смесей и системы Гана, внутреннюю гильзу которого наполняют жидкостью с температурой кипения, соответствующей температуре кипения отгоняемой фракции. У вас именно эта система, ваша гильза заполнена жидкостью с другой температурой кипения! Линас подразумевает плёночный режим подачи образцовой жидкости, на чертежах это ясно видно. Возврат конденсата происходит сверху, он стекает по стенкам трубок, внутри которых проходит пар. Тем самым обеспечиваются условия для конденсации преимущественно высоко кипящих фракций. Это же всё написано в патенте. В вашем случае конденсат попадает во внутреннюю колбу через низ и вся колба заполнена эталонной жидкостью, у линаса в патенте нет такой схемы и в помине. Или никто патент не читал? Есть ещё патент, который лег в основу технологии линас. Его можно найти в сети RU2102104. Там более подробно описано устройство Гана Цитата В дефлегматоре системы Гана смесь паров направляется в зазор между внешним корпусом и внутренней гильзой. Пары высококипящей фракции преимущественно конденсируются на стенках внутренней гильзы, отдавая при этом тепло жидкости, кипящей в гильзе. Пары низкокипящей фракции преимущественно проходят через зазор без конденсации. Пары жидкости, кипящей в гильзе, конденсируются в шаровом холодильнике, соединенном с гильзой. Способ и система Гана, конденсирующие из смеси паров преимущественно низкокипящую фракцию, нашли применение, в частности, в области ректификации сжиженных газов. Данный способ был использован в ректификационных колоннах системы Клода. Изменено 22 октября, 2021 пользователем Леонид С.
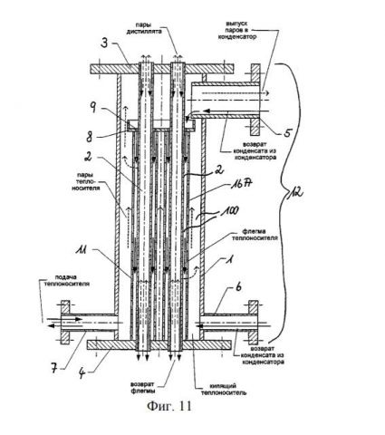
moroz-85 Опубликовано 22 октября, 2021 Опубликовано 22 октября, 2021 1 час назад, Леонид С. сказал: Вы умеете читать чертежи? Чего-чего, а это умею. Отделим мух от котлет: дома никто не делал непрерывку многотрубную а-ля Линас, лишь кубовый метод с колонной над кубом. Линас - промышленная технология с промышленным патентом (хотя многообразия пленочных колонн и патентов и без их участия хватает). Далее. Линас предполагается для нефтяников, а не для спиртовиков. Отсюда вопрос: что мы хотим получить от этой колонны? Для дистиллятов: есть прямые схемы перегонов (поГабри, отГабри и прочие менее популярные), для ректификата эффективнее использовать насадку. Мы же про домашнее, верно, уважаемый? Теперь про теплоноситель Линас. У них в патенте указано, что это? - кроме того, что это жидкость с близкой температурой кипения по отношению к разделяемой внутри трубок? Или теплоноситель эта флегма той самой жидкости которую хотят разделить? Посмотрим на патрубок 7 - подача флегмы видно стрелку? Флегма - жидкость? То есть не только по трубкам сверху стекает, а еще и вниз подается? То есть уровень имеется? Или чертежи я все-таки не умею читать? А в патрубке 6 возврат конденсата - это что? Может они вообще мешают несколько жидкостей с разных уровней? У Линас много интересных недосказанностей. 1
S66 Опубликовано 22 октября, 2021 Опубликовано 22 октября, 2021 50 минут назад, moroz-85 сказал: дома никто не делал непрерывку многотрубную а-ля Линас, А где вы увидели непрерывную дистилляцию? На чертеже обычный отрезок колонны кубовой дистилляции. Патрубки 6 и 7 используются для заправки и слива теплоносителя. Если вы внимательно глянем на чертёж, то увидим стрелки, показывающие направление движения флегмы. Если бы стакан был заполнен флегмой, то незачем было бы указывать направление движения. А если мы посмотрим ниже, то увидим другой вариант конструкции, где флегма вообще проходит между двух труб. Согласитесь, заполнять такую жидкостью нет ни какого смысла. Но мы тут так же видим штуцера для заливки и откачки теплоносителя.
moroz-85 Опубликовано 22 октября, 2021 Опубликовано 22 октября, 2021 @Леонид С. Леонид, еще раз внимательно посмотри на их СХЕМЫ: они все разные. По ФИГ.8 они флегму подают вниз, по ФИГ.11 они теплоноситель подают вниз. По ФИГ.8 у них нет кипящего слоя, а по ФИГ.11 он обозначен, хотя он есть и в ФИГ.8. Рисунки у них стремно нарисованы, завуалированно. Поэтому Линас до конца никто не понял. И еще: фигурно нарисовано и проектно начерчено - две разные вещи, вплоть до того, что слой кипящего теплоносителя может занять и пол трубы по высоте. И получится картинка от Мекаода, которую ты привел выше.
S66 Опубликовано 22 октября, 2021 Опубликовано 22 октября, 2021 Хорошо, давай отставим пока рисунки линас и обратимся к описанию системы Гана. Цитата системы Гана, внутреннюю гильзу которого наполняют жидкостью с температурой кипения, соответствующей температуре кипения отгоняемой фракции Описание соответствует рисунку?
moroz-85 Опубликовано 22 октября, 2021 Опубликовано 22 октября, 2021 (изменено) 33 минуты назад, Леонид С. сказал: Описание соответствует рисунку? Рисунок был сделан году в 15-17 и приклеен к обсуждению разделения многокомпонентной смеси. Зеленый теплоноситель в данном случае даст разделение и укрепление пара в трубках, в зависимости от поставленных задач. Пока что задачи о получении продукта я от тебя не услышал. Про Гана слышал или читал краем уха, но не помню точно, что он там делал. Может двухкомпонентные смеси делил или как и у нас +200 компонентные? 22 часа назад, Леонид С. сказал: кто-нибудь собрал действующую модель Ланас? Как она работает? Если отмести все предрассудки о том, что Линас (коммерческий проект, нацеленный на разделение других смесей - а не спирта) и представить, что это многотрубная пленочная колонна, то есть несколько вариантов, сделанных по этой технологии (многотрубной, а не частного случая Линас или Ганн) на форуме, в частности у @dim65 и не только у него вариант с цветного рисунка, до сих пор используемый и имеющий ряд плюсов для подготовки к ректификации и вариант от @POLE описанный ТУТ. Есть еще пара вариантов в виде предложений к изготовлению. Их объединяет два слова: пленочная многотрубная колонка. В остальном - это патенты на конкретные изменения, дополнения. И все же. Хочется услышать от тебя. 1) Что ты хочешь получить на выходе с Линас? 2) Как ты сам понял патент Линас (устройство и движение пара/жидкости)? Изменено 22 октября, 2021 пользователем moroz-85
S66 Опубликовано 22 октября, 2021 Опубликовано 22 октября, 2021 (изменено) 22 минуты назад, moroz-85 сказал: Что ты хочешь получить на выходе с Линас? Хочу получать дистиллят (возможно и спирт) за один прогон. Как я понял это возможно. Цитата ак ты сам понял патент Линас (устройство и движение пара/жидкости)? Так там же все написано вроде. Плёнка теплоносителя стекает по трубе, внутри которой идёт пар. Можно и поменять местами. Из пара конденсируются тяжелые фракции, из теплоносителя испаряется спирт (или другое вещество). Так происходит теплообмен, который обеспечивает преимущественную конденсацию хвостов, а спирт пролетает в отбор. И совсем не обязательно при наших размерах колон городить много трубник. Вполне хватит одной трубы, типа как в Польском буфере от Шульмана. Для чего ставить много тонких трубок мне не понятно. Я так понял что чистого линаса ни кто не сделал, у всех дефлегматоры Гана. Но всё же что такое РБК4? Может там найду ответ на свой вопрос. Хочется поговорить с тем кто реально сделал линас колону. Изменено 22 октября, 2021 пользователем Леонид С.
moroz-85 Опубликовано 22 октября, 2021 Опубликовано 22 октября, 2021 2 минуты назад, Леонид С. сказал: Для чего ставить много тонких трубок мне не понятно. Если честно, то мне видится, что тебе много чего не понятно и ты решил, что Линас спасение от всех бед и надежда на светлое будущее. 3 минуты назад, Леонид С. сказал: беспечивает преимущественную конденсацию хвостов, а спирт пролетает в отбор. там все пролетает, а если уж "спирт", то со всеми ЛКК. 4 минуты назад, Леонид С. сказал: Вполне хватит одной трубы Для каких-то целей хватит, для других нет. 5 минут назад, Леонид С. сказал: в Польском буфере от Шульмана В его трубе стоят тарелки, в оригинале - насадка. Где там пленка? 7 минут назад, Леонид С. сказал: (возможно и спирт) за один прогон пока такое мало кто делает, прям единично и уж точно не применением Линаса. 7 минут назад, Леонид С. сказал: Хочу получать дистиллят 8 минут назад, Леонид С. сказал: Как я понял это возможно. Это возможно. Но возможно и другими способами и более простыми. Ты, конечно, можешь посмотреть колонку от SS66, он там РБК-6 и уже РБК2020 даже наклепал (с одной трубой), есть у ней много почитателей. Я пробовал с нее продукт - не дистиллят это (хуже), и уж не ректификат подавно. По поиску "Чарка" во ВКонтакте найдешь группу и ответы на вопросы труба-шнек-труба
S66 Опубликовано 22 октября, 2021 Опубликовано 22 октября, 2021 6 минут назад, moroz-85 сказал: По поиску "Чарка" во ВКонтакте найдешь группу и ответы на вопросы труба-шнек-труба Огромное спасибо! Буду лопатить тему дальше. Мне она кажется перспективной. Руки вроде не из жопы, попробую что-то сделать самостоятельно. Если что найду интересное поделюсь обязательно. 1
PDV Опубликовано 22 октября, 2021 Опубликовано 22 октября, 2021 24 минуты назад, Леонид С. сказал: Хочу получать дистиллят (возможно и спирт) за один прогон. Мечты, мечты, Где ваша сладость? Где ты, где ты, Ночная радость? Исчезнул он, Веселый сон, И одинокий Во тьме глубокой.... Еще один фантаст...Хочу и могу-разные вещи. Где взять книгу "Как дружить с головой"? Дал бы почитать некоторым...
Valera0943 Опубликовано 22 октября, 2021 Опубликовано 22 октября, 2021 30 минут назад, PDV сказал: Хочу и могу как там в женском анекдоте могу но не хочу = козел
dim65 Опубликовано 23 октября, 2021 Опубликовано 23 октября, 2021 22 часа назад, Леонид С. сказал: И совсем не обязательно при наших размерах колон городить много трубник. Вполне хватит одной трубы, Высказывание не обосновано. Это твой измышлизм. Когда была тема в разгаре, пробовали разные трубки. Работают они существенно по разному от диаметра и от длины. Поэтому : на одной работать можно, все равно тонкая и очень длинная - и на очень маленькой мощности. Или получать самогонищще 80-85 об. 22.10.2021 в 04:58, Леонид С. сказал: Вот два рисунка один это патент линаса, а второй то, что делают участники. Есть ли между ними что-то общее? Конечно есть - термостабилизация поверхности, обеспечивающей ТМО. Так собственно и эта тема называется. ЛИНАС давно пытаются продать нефтяникам. В нефти 3-4 крупных фракции которые надо разделить - поэтому они меняют состав и Ткипения теплоносителя в процессе перегонки. Отсюда и циркуляция и пленочное распределение теплоносителя по трубкам. У нас смесь другая и целевые фракции совсем другие. 23 часа назад, moroz-85 сказал: представить, что это многотрубная пленочная колонна, то есть несколько вариантов, Саша, только тебе скажу - ты в состоянии оценить - есть факты и наблюдения - это не пленочная колонна. Про эмульгацию в пустых трубках менее 20 мм пишет учебник. Про парадоксальные значения поверхностного натяжения спиртвода смесей тоже. Зависимость от диаметра и длины трубок и реагирование на изменения мощности убеждают меня , что нет там пленки.
Капитан_Немо Опубликовано 23 октября, 2021 Опубликовано 23 октября, 2021 Выскажусь как человек, у которого аппарат с термостабилизацией таки есть. Первое - не надо делать из него панацею от всего. Мое мнение, основанное на опыте трех лет эксплуатации: сколько-нибудь питейный продукт с одной перегонки такая установка не даст. По одной простой причине. Она не решает проблему удаления примесей, она решает задачу снижения их количества. Второе. Подобные устройства показывают наибольшую эффективность на грязных, низкоспиртуозных жидкостях. То есть берем бидон обычной сахарной браги, сливаем туда все говнище, накопленное в прошлой жизни (у меня туда идут все хвосты с дистилляции), и на выходе получаем вполне себе предочищенный спирт-сырец. Причем, чего и сколько ни было бы залито в куб, продукт на выходе получится плюс-минус одинаковый. То есть 90-градусный сырец с отобранными под давлением головами и содержанием сивухи раза в три ниже по сравнению с сырцом с прямой перегонки. Из сказанного следует один простой вывод: подобные установки имеют достаточно узкую специализацию, имеющую целью получить предочищенный спирт-сырец для последующей ректификации. В этом амплуа они заслуживают всяческих похвал. Попытки прикрутить Линасы к дистилляции, на мой взгляд, не оправданы. Не надо требовать от технологии того, чего она не умеет. 23 часа назад, moroz-85 сказал: можешь посмотреть колонку от SS66, он там РБК-6 и уже РБК2020 даже наклепал (с одной трубой), есть у ней много почитателей Это не та, которая в обиходе известна под гордым именем "сивушный насос"?
dim65 Опубликовано 23 октября, 2021 Опубликовано 23 октября, 2021 2 минуты назад, Капитан_Немо сказал: человек, у которого аппарат с термостабилизацией таки есть. Похвастаюсь - у меня их несколько!! Кожухотрубников разной геометрии - трубки разные и общая длина разная. И работают по разному. 4 минуты назад, Капитан_Немо сказал: Попытки прикрутить Линасы к дистилляции, на мой взгляд, не оправданы. Не надо требовать от технологии того, чего она не умеет. Без обид - это ты не умеешь. Может тебе это и не надо. Я вполне себе получаю нечто около дистиллята ОтГабри - пятикратной перегонки - за одну перегонку 1/2 и из второй половины ещё надо отобрать головы. Отбор голов под давлением мне не зашёл совсем.
moroz-85 Опубликовано 23 октября, 2021 Опубликовано 23 октября, 2021 17 минут назад, Капитан_Немо сказал: "сивушный насос" Он самый.
Капитан_Немо Опубликовано 24 октября, 2021 Опубликовано 24 октября, 2021 23.10.2021 в 13:51, dim65 сказал: Без обид - это ты не умеешь. Может тебе это и не надо. Точнее всего сказать - не стал пробовать. Потому как в семье гораздо лучше заходят ректификаты. А для небольших объемов дистилляции использую шлем и тарелки.
moroz-85 Опубликовано 1 ноября, 2021 Опубликовано 1 ноября, 2021 Перенес обсуждение аппарата в тему, где его обсуждали: сюда Кому интересно обсуждение - просите открыть @Gagarin
Valera0943 Опубликовано 1 ноября, 2021 Опубликовано 1 ноября, 2021 14 часов назад, moroz-85 сказал: Поймёшь. Наверное. Но позже, о чем я Тебе. Да ему бесполезно что то объяснять у него каша в голове, вот когда он придет к тому, что хороший дистиллят это прежде всего баланс а не количество тех или иных примесей, тогда можно пообсуждать как использовать оборудование заточенное на ректификацию. 1
dim65 Опубликовано 1 ноября, 2021 Опубликовано 1 ноября, 2021 2 часа назад, Valera0943 сказал: Да ему бесполезно что то объяснять у него каша в голове Никакой каши нет, Обычный интернет продвигатель. Прислан от S66 или может идейный - инициативщик. То новичок то со всеми знаком. То вопросы задаёт детские то все знает вширь и вглубь. При этом другие темы тут и на ХД в упор как бы не видит. Новичок?? Его задача - хайп, срач и максимум зашедших. Его цель - ссылки, цитирование и место в поисковике для этих Р/Б/К всяких. 1 1
андрей 1981кгту Опубликовано 1 ноября, 2021 Опубликовано 1 ноября, 2021 22.10.2021 в 14:27, PDV сказал: Мечты, мечты, Где ваша сладость? Где ты, где ты, Ночная радость? Исчезнул он, Веселый сон, И одинокий Во тьме глубокой.... Еще один фантаст...Хочу и могу-разные вещи. Накатил граппы, запил березовым соком (сорри), присоеденяюсь, в один заход Кина не будет. Совсем.
dim65 Опубликовано 1 ноября, 2021 Опубликовано 1 ноября, 2021 2 часа назад, андрей 1981кгту сказал: в один заход Кина не будет А если я или кто другой соединит 2-3 «палки» трубками - залил брагу- из всяких отборов текут гОвна - из одного продукт - так бывает, как думаешь?
андрей 1981кгту Опубликовано 1 ноября, 2021 Опубликовано 1 ноября, 2021 (изменено) 22.10.2021 в 14:27, PDV сказал: Бывает, но дороговато оборудование выходит, на одной трубе два раза по любому гонять. Изменено 1 ноября, 2021 пользователем андрей 1981кгту
dim65 Опубликовано 3 ноября, 2021 Опубликовано 3 ноября, 2021 02.11.2021 в 00:55, андрей 1981кгту сказал: дороговато оборудование выходит У огромного числа любителей оборудование избыточно по мощности и слишком дорого - только лишь чтобы тратить меньше времени. Экономия в одном - перерасход в другом. Ну и есть просто красивые и очень дорогие аппараты типа Док/тор/Губ Так что совсем не аргумент цена железа.
андрей 1981кгту Опубликовано 4 ноября, 2021 Опубликовано 4 ноября, 2021 Каждая труба живёт своей жизнью, куча насосов, даже с путевой автоматикой нужен глаз да глаз. Вот, найду себе годную супругу - тоже спрут замучу, чтоб в уюте и метра три. На улице форс-мажоры: еноты ,птицы, падающие ветки и самолеты; а с разделённой трубой можно и ssv059 v2 приколхозить, или омен приспособить.
dim65 Опубликовано 4 ноября, 2021 Опубликовано 4 ноября, 2021 @андрей 1981кгту Аууу ты заблудился Речи про 5-7 труб для получения спирта и близко не идёт. Мы в теме Линас псевдоЛинас термостабилизация - это все работает БЕЗ автоматики - чистая физика.
Рекомендуемые сообщения
Для публикации сообщений создайте учётную запись или авторизуйтесь
Вы должны быть пользователем, чтобы оставить комментарий
Создать аккаунт
Зарегистрируйте новый аккаунт в нашем сообществе. Это очень просто!
Регистрация нового пользователяВойти
Уже есть аккаунт? Войти в систему.
Войти