alexeyT Опубликовано 28 декабря, 2016 Опубликовано 28 декабря, 2016 (изменено) [member=Алкобрат], Ровно также я и расценил стартовый вопрос 1. при чем тут первый сорт? для всех сортов кислоты определены от 8 до 20 мг. с пометкой НЕ БОЛЕЕ 2. ты изначально акцентируешь на создании щелочной среды. я так делаю с твоей подачи аж с 2012. 3. при 2-3 сутках кипячения кислот в спирту .... или ЛАНГ не будет работать ?? - полная потеря логики ИМХО. даже если там что-то и образовывается. при наличии щелочной реакции, то настолько мало, что ЛАНГ не меняется. добираем мы эфиры, которые зело вонючи. даже в микроскопических концентрациях. в таких, что их и Хамелеон не чует особливо в свете вчерашнего разговора про ФЧ. я - ни слова про ФЧ.... за последние ...дней :sarcastic: а про спирт 92% в головах ...(от 92..) - это не я .... скан выкладывал... :crazy: Изменено 28 декабря, 2016 пользователем alexeyT
alexeyT Опубликовано 28 декабря, 2016 Опубликовано 28 декабря, 2016 (изменено) что Ланг стопроцентно реагирует на ВСЕ возможные эфиры? Есть ровно противоположное мнение. Реагирует на 1. Альдегиды. Резко. четко 2. означенные головными основные эфиры. МА и ЭА. но уже менее информативно 3. на микроскопические концентрации ароматических эфиров или вообще не реагирует, либо слабовыраженно основная кислота - уксусная. с нее и летят МА и ЭА 4. на сивуху - в предельных концентрациях. от 2 г/литр и выше Пысы. Если бы кислоты давали при кипячении ЭАФ в определимых количествах, весь этот наш "отбор голов" - нах никому бы не нужен был... что толку ? отобрал - а они опять с кислот полезли... вот ты же не кидаешь соду. щелочь и др. а по ГХ - ЭАФ в разы меньше ГОСТА. а ведь спирт отбираешь не час и не два... ИМХО. надуманно это. МИФ, короче Изменено 28 декабря, 2016 пользователем alexeyT
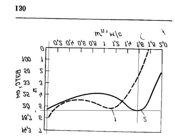
Алкобрат Опубликовано 28 декабря, 2016 Автор Опубликовано 28 декабря, 2016 Да, кстати - а почему ты здесь, у Shumadana выбрал 0,36 а не 0,43?? потому что его график с этой насадкой был не первым... и одна странность замечена... подобный горб вылазил и на других графиках , у Григорича например. потом по второй части вопроса допишу, есть тоже соображения... отбежать надо
texnar Опубликовано 28 декабря, 2016 Опубликовано 28 декабря, 2016 а кто первый ответит на контрольный вопрос первым в 19-00 Я ! Ответ; "всегда" . Заметь ,про правильность ответа в тз не сказано .
Алкобрат Опубликовано 28 декабря, 2016 Автор Опубликовано 28 декабря, 2016 (изменено) Следовательно - мы тусуемся с разных краёв одного и того же процесса.. Мне надо понять именно почему у тебя получаются такие скорости пара, отборы и мощности... вначале этой темы весь расчёт сводился только к определению необходимого количества ТТ на высоту колонны. из практики было замечено, что высота колонны должна быть 50 диаметров. если же колонна была 30 диаметров высотой, то за счёт уменьшения скорости пара (нагрева) добивались достаточного разделения. НО ! мы не учитывали то при какой скорости пара насадка работает наилучшим образом. теперь , когда собралась не большая статистика по наилучшим скоростям пара для различных насадок, можно заявить, что высота колонны не обязательна должна быть 50 диаметров, а может быть значительно меньше, но при одном условии- если мы будем работать на оптимальной скорости пара для данной насадки. другими словами: можно "выехать" по разделению смеси на высоте колонны, без учёта наилучшей скорости пара для насадки, а можно поиметь достаточное разделение за счёт насадки- просто работая на её скорости пара. принимая во внимание вышесказанное становится понятным почему качество спирта на моей колонне не изменяется при изменении нагрева в пределе 500 ватт. и становится понятным почему я могу получать спирт с крепостью 96.2% НЕ ТЕРЯЯ В КАЧЕСТВЕ. Олег, говорят мозговая деятельность наилучшим образом совершается до обеда )))это я к тому что может сумбурно объяснил ))) если что то не понятно, спрашивай . Изменено 28 декабря, 2016 пользователем Алкобрат
GrOV Опубликовано 28 декабря, 2016 Опубликовано 28 декабря, 2016 теперь , когда собралась не большая статистика по наилучшим скоростям пара для различных насадок, можно заявить, что высота колонны не обязательна должна быть 50 диаметров, а может быть значительно меньше, но при одном условии- если мы будем работать на оптимальной скорости пара для данной насадки Иными словами - подбирая скорость пара под насадку ты добиваешься минимальной ВЭТС... Критерием правильности такого выбора, если правильно понимаю - считаешь минимальную температуру в какой-то точке колонны - например в 4d.. ? Я правильно тебя разумею?
ВОблин Опубликовано 28 декабря, 2016 Опубликовано 28 декабря, 2016 (изменено) можно "выехать" а еще можно выехать на чистоте сырья... вопрос-то был всего-лишь в поиске минимальной толщины пленки?... как же сложен твой путь!? и становится понятным почему я могу получать спирт с крепостью 96.2% НЕ ТЕРЯЯ В КАЧЕСТВЕ. вот это интересно, почему? Изменено 28 декабря, 2016 пользователем ВОблин
texnar Опубликовано 28 декабря, 2016 Опубликовано 28 декабря, 2016 [b][member=ВОблин][/b], Летом надо попробовать отжать спирт на другом режиме. ГХ я тут выкладывал ,если на той же колонне ,с того же сырья и на др режиме, будет видна разница.
ВОблин Опубликовано 28 декабря, 2016 Опубликовано 28 декабря, 2016 (изменено) Летом надо попробовать отжать спирт на другом режиме. Паш, то что Серега написал в последнем сообщении - очевидно. при таком подходе к процессу выиграет(по вэтс) всегда насадка с максимальной площадью поверхности, (получается что насадка РАН 2.0 всегда лучше чем 3.5 десятигранка) но в производстве такой подход можно назвать даже не перфекционизмом, а вредительством. Изменено 28 декабря, 2016 пользователем ВОблин
МАРТ Опубликовано 28 декабря, 2016 Опубликовано 28 декабря, 2016 Чють разбадяжу вашу дискуссию практикой ..пол года нвзад я в этой теме сержу вопрос задал ..что у меня аж подголовники .95 .... Получил сандартный ответ .режимы ... Блин . мож то .а мож это .!!эт ответ меня не устроил ! .но открою сикрет ... Я подголовники вообще не отбираю !!!! Пока идет спирт не более 96 эт и есть головы ! В далнейшем крепость повышается !!! .и все это на не изменных режимах ! Хотя у меня отбор по пару !!! Про ланг вчера писал .ну и не раз . анализ не из пробтехнадзора !!! Развернутый есть !!!!там нет вопросов .!!
texnar Опубликовано 28 декабря, 2016 Опубликовано 28 декабря, 2016 [b][member=БайбаК][/b], Коль, я как раз дельное предложение внес .На практике проверить ,причем не просто так ,а с изменением только мощности и отбора,а все остальные условия одинаковы. Вот такой эксперимент и расставит все по местам, тк это истинный критерий ,а таблицы-херицы ,графики-уяфики ,это все хорошо ,но против практики ничто...
БайбаК Опубликовано 28 декабря, 2016 Опубликовано 28 декабря, 2016 я как раз дельное предложение внес .На практике проверить читай последние пару страниц предлогатель.
МАРТ Опубликовано 28 декабря, 2016 Опубликовано 28 декабря, 2016 Ну и еще практики добавлю !!! Скопил я эти первые ..загнал на перегонку ..наплакался по ....нехочю !!!!! И понял .......что ну а дальше слово аккадемикам !!!!
ВОблин Опубликовано 28 декабря, 2016 Опубликовано 28 декабря, 2016 Коля, ты Сергея не защищай. он в итоге родит шедевр! да и задержится у нас на дольше
texnar Опубликовано 28 декабря, 2016 Опубликовано 28 декабря, 2016 читай последние пару страниц предлогатель Коль ,я читал и не раз .Не включай режим врагов. Не может быть так ,что ты меня недопонял?
БайбаК Опубликовано 28 декабря, 2016 Опубликовано 28 декабря, 2016 ты Сергея не защищай Это почему? ,я читал и не раз так тогда не пиши , что ты внес предложение по практике, я об этом пишу с утра, ни кто не слышит. Не включай режим врагов. Паша ты вообще о чем? мне то зачем? я как раз за мир дружбу жвачку.))))
МАРТ Опубликовано 28 декабря, 2016 Опубликовано 28 декабря, 2016 Блин вы меня не услышали !!!! Крель крель. А рук то у вас нет?? У креля то ж не 8 рук !!!!
БайбаК Опубликовано 28 декабря, 2016 Опубликовано 28 декабря, 2016 лин вы меня не услышали !!! тема упертая тут ни кто ни кого не слышит надо как то решать эту проблему)))
Пчёл Опубликовано 28 декабря, 2016 Опубликовано 28 декабря, 2016 Теперь попробую объяснить на пальцах.Включаю,прогреваю,стабилизирую на предзахлебной,тут у кого сколько, начинаю отбор голов.На прдзахлебной,часть бяки лезет вместе с головами.Согласно той же теории Алкобрата и таблицам.Температура больше,скорость обращения больше,а тарелок меньше.Головы лезут полюбому и хвосты подтаскивают.Во первых,чем быстрее мы выводим тем меньше плодим.Промежуточные уже лезут.Поэтому спиртометр для этих целей,что мертвому припарка.Прогнали головы,продули в 4 или 3,неважно,до температуры куба.Дал поработать на себя.Перехожу на режим Алкобрата.Вот ту то без него худо.Отобрал с литр,продул ещё раз( на любителя).дошел до 92 в кубе.Вот тут очень нужен нижний отбор.Отбора нижнего нет,поднимаю мощьность.Спирта мало.Что сидеть 10-20 часов из-за 0.5 литра.Мощность поднял,подхвостье хапнул(я беру до 97 в кубе).Снижаю мощность до нуля плюс тепло потери.Открываю отбор полностью.Скапывает последняя капелька.5 минут колонна работает.Выключаю,разбираются.Всё. Теперь по спиртометру ещё раз.На головах я увижу на нем только видимую крепость,на теле я увижу тоже самое,на хвостах не более.Без точных весов,без хроматографа и молоденькой практикантки,я дома могу верить только своей глотке.
МАРТ Опубликовано 28 декабря, 2016 Опубликовано 28 декабря, 2016 [member=БайбаК],Коль . просто попробуй!! И темы нет !.
Shumadan Опубликовано 28 декабря, 2016 Опубликовано 28 декабря, 2016 тема упертая Не мы такие,жизнь такая.А Сержу уважуха,что терпения у него хватает.
БайбаК Опубликовано 28 декабря, 2016 Опубликовано 28 декабря, 2016 [b][member=Пчёл][/b],эта тема не прикладная , а академическая вот для таких вопросов http://forum.grainwine.info/index.php/topic/467-spirt/#entry15665 И темы нет !. стоп, люди есть и тема есть. .А Сержу уважуха,что терпения у него хватает. как опанент он шикарен как практик пока ни как хотя и Гров и АлексейТ тоже мимо пока.(((
GrOV Опубликовано 28 декабря, 2016 Опубликовано 28 декабря, 2016 (изменено) Не дождался ответа...Видать ты занят.. Давай сначала только о бинарной смеси - вода+спирт для нас... При трёх и более компонетах всё несколько усложнится... смотри что пишет Крель стр 130.. Есть понятие производительности колонны...Её ещё называют фактором интенсивности.... Для нас - количество дистиллята заданной степени чистоты полученного в единицу времени.. картинка 1: И продолжение: Про целесообразность неработы в областях низких нагузок - малом количесве флегмы и пара в колонне - не подчёркивал.. Теперь пару предположений и движений в Паинте: Берём график ВЭТС: Переворачиваем его вверх тормашками: Получаем картинку похожую на твои графики..Не так ли.. Только здесь ВЭТС а у тебя - температура... Но минимальной температуре в4D должна соответствовать максимальная разделяющая способность - верно? Значит высота насадки для заданой ВЭТС должна быть минимальной ... Параллель, надеюсь - допустима.. Далее.. Чуть растяну ось ординат в области малых скоростей пара: И на праве ПРЕДПОЛОЖЕНИЯ дорисую от руки график(пофантазирую) - как он должен вести себя в области низких скоростей пара: Похоже на правду - имхо -да.. И в заключение: Не утверждаю - поскольку нет данных (они возможно появятся на каникулах - уже купил приблуды которые пзволят всё промерять) , а предполагаю - что ты работаешь в левой области графика, а я в правой... А вот как разберусь до конца с эквивалентным диаметром насадки, то (опять же предполагаю) что смогу показать на цифрах - что ты просто не доходишь до правой области - в силу ограничений свойств своей насадки.. И, следовательно - не ставил ребятам задачи проверить наличие правой зоны скоростей пара на практике... Это просто ИЛЛЮСТРАЦИЯ к ходу моих мыслей - без привязки к конкретным цифирям..Чисто логическое предположение.. Сугубо - ИМХО.. Изменено 28 декабря, 2016 пользователем GrOV 7
Shumadan Опубликовано 28 декабря, 2016 Опубликовано 28 декабря, 2016 [member=БайбаК],Николай,это же ты про терпение? 1
texnar Опубликовано 28 декабря, 2016 Опубликовано 28 декабря, 2016 так тогда не пиши , что ты внес предложение по практике, я об этом пишу с утра, ни кто не слышит. Коль ,мне лавры не нужны-считай что ты внес Только ты все требовал тз тебе дать ,а я как практик предложил на том же оборудовании ,но изменив один параметр, с ранее известным гх.
Рекомендуемые сообщения