Ал-Крафт Опубликовано 21 июня, 2024 Опубликовано 21 июня, 2024 (изменено) Добрый день всем! Меня зовут Алешин Игорь, по образованию инженер механик, компрессорные и холодильные машины и установки, работал в компании Добровар. Хочу рассказать о новом патентованном виде отбора при работе с колонной - Пропорциональный отбор. Основная идея разделение на флегму и продукт на стадии конденсации в корпусе одного устройства - конденсаторе пропорционального отбора. Разделение происходит при конденсации на поверхности двух различных по площади конденсации холодильников встроенных в один охлаждаемый водой корпус. Один из них выполняет функцию дефлегматора, а второй конденсатора. Условия конденсации одинаковы и производительность каждого на единицу площади тоже одинакова. Таким образом если площадь одного в три раза больше, то и количество конденсата тоже будет в три раза больше и соответственно флегмовое число будет три. Флегмовое число будет неизменным при любой допустимой мощности нагрева и параметрах парообразования и при их изменении в процессе работы. Это позволяет, например, не имея серьёзных знаний, не рассчитывать необходимую скорость отбора тела после отбора голов - просто полностью открыть отбор и получать продукт. Установленное флегмовое число будет поддерживаться конструкцией Конденсатора, как и в аппаратах с отбором по пару. В зависимости от типа конструкции Конденсатора, соотношение площадей конденсации встроенных холодильников может быть неизменным или регулируемым. Также снаружи отбор можно регулировать или полностью перекрывать зажимом, краном или электроклапаном автоматики, как и в аппаратах с отбором по жидкости, что позволяет колонне работать самой на себя, отбирать головы или увеличивать флегмовое число на отборе при необходимости (у простых конструкций). Таким образом Конденсатор пропорционального отбора автоматически поддерживает флегмовое число, регулируется простейшей автоматикой и имеет один охлаждаемый корпус. По конструкции (один из вариантов) это кожухотрубный конденсатор в котором часть трубок выполняют роль дефлегматора, а оставшиеся конденсатора. Трубки имеют одинаковое сечение и площадь конденсации. Пар равномерно будет заполнять все трубки. Каждая трубка находится в равных условиях и соответственно имеет одинаковую производительность. Соотношение количества трубок дефлегматора и конденсатора определяют степень разделения - флегмовое число, которое будет оставаться неизменным при большем или меньшем количестве пара. Флегма из трубок дефлегматора попадает в колонну, а продукт из трубок конденсатора в узел отбора. Изменять флегмовое число можно перекрывая часть трубок дефлегматора или конденсатора, либо узлом отбора собирать продукт из большего или меньшего числа трубок. https://patents.google.com/patent/RU2810414C1/ru Изменено 21 июня, 2024 пользователем Gagarin ссылку ютуба пофиксил
Jekson Опубликовано 21 июня, 2024 Опубликовано 21 июня, 2024 Здравствуйте. И какую высоту будет иметь такой узел для работы допустим на 2квт при оборудовании 2"? Что то мне кажется один из недостатков такого узла, это высота? Или это как то решили, и я не совсем понял принцип?
dimych.79 Опубликовано 21 июня, 2024 Опубликовано 21 июня, 2024 @Ал-Крафт Видео работы колонны есть? Лучше пузо от пива, чем горб от работы
Master_1 Опубликовано 21 июня, 2024 Опубликовано 21 июня, 2024 7 часов назад, Ал-Крафт сказал: Самостоятельно устанавливает необходимый отбор и изменяет его, поддерживая заданное флегмовое число. Не ты первый, больше 10лет эта идея всплывает, для непрерывки так сяк, для кубовой ректификации не подходит.., у нас нет постоянного ф/ч.
Daniil Опубликовано 21 июня, 2024 Опубликовано 21 июня, 2024 10 часов назад, Ал-Крафт сказал: Также снаружи отбор можно регулировать или полностью перекрывать зажимом, краном или электроклапаном автоматики, как и в аппаратах с отбором по жидкости, что позволяет колонне работать самой на себя, отбирать головы или увеличивать флегмовое число на отборе при необходимости (у простых конструкций). Игорь, а данный узел отбора можно использовать для отбора голов? Отбор голов это один из самых критичных моментов при ректификации. анализ самогона методом газовой хроматографии
RSM Опубликовано 21 июня, 2024 Опубликовано 21 июня, 2024 2 часа назад, Master_1 сказал: для кубовой ректификации не подходит.., у нас нет постоянного ф/ч. Ну,да. Работа на себя(отбор ноль)- ФЧ равно бесконечности, отбор тела- пусть будет ФЧ равно 4, отбор хвостовых - пусть будет опять другое. Как это реализовать на этой штуке? Можно?
Ал-Крафт Опубликовано 21 июня, 2024 Автор Опубликовано 21 июня, 2024 (изменено) 7 часов назад, Jekson сказал: какую высоту будет иметь такой узел Доброго дня! В зависимости от конструкции - подача пара снизу или сверху, диаметр Конденсатора. Простейший вариант Полуавтомат Калаш 30 см с копейкой при диаметре корпуса 3 дюйма. До 3 квт по браге, но на пределе. На колонне 1,8-2 квт норм. 4 часа назад, dimych.79 сказал: Видео работы колонны есть? Доброго дня! Пока не снимал. Сделаю.Сейчас это больше про принцип пропорционального разделения получилось. 3 часа назад, Master_1 сказал: для кубовой ректификации не подходит.., у нас нет постоянного ф/ч. Изначально идея такого аппарата в другом была - автоматически устанавливать флегмовое число на начале отбора тела. Для новичков дистиллятов на колонне удобно - открыл отбор после голов - течёт сколько нужно, а дальше в работе можно дорегулировать краном отбора или электроклапаном. Ну простой вариант массовый. Типа отбор по жидкости с апгрейдом по установленному ФЧ. Можно менять и пропорции отбора площадью, в более сложном, но всё же это скорее про простой аппарат с установленным ФЧ для ароматных. Хотя можно и ректификат делать как по жидкости - он же снаружи регулирует отбор. 31 минуту назад, Daniil сказал: а данный узел отбора можно использовать для отбора голов? Ну да. Отбор голов как в аппарате по жидкости, а тело с установленным ФЧ, но и его можно увеличивать в процессе. Например у Полуавтомата Калаш два узла отбора и головы на любом можно отбирать. Оба по жидкости. Изменено 21 июня, 2024 пользователем Ал-Крафт 1
Daniil Опубликовано 21 июня, 2024 Опубликовано 21 июня, 2024 26 минут назад, Ал-Крафт сказал: Ну да. Отбор голов как в аппарате по жидкости, а тело с установленным ФЧ, но и его можно увеличивать в процессе А для отбора голов какое ФЧ нужно устанавливать? анализ самогона методом газовой хроматографии
Ал-Крафт Опубликовано 21 июня, 2024 Автор Опубликовано 21 июня, 2024 32 минуты назад, RSM сказал: Работа на себя(отбор ноль)- ФЧ равно бесконечности, отбор тела- пусть будет ФЧ равно 4, отбор хвостовых - пусть будет опять другое. Как это реализовать на этой штуке? Самый простой вариант Калаш - я покажу видео. В него зашито ФЧ=3 для ароматных. Если надо больше, то именно на нём чуть уменьшить отбор зажимом, ну то есть регулировать как в аппарате по жидкости, исходи из того, что при полностью открытом кране ФЧ=3. В регулируемых можно ставить запирающие стержни в некоторые трубки (как в атомном реакторе))) и изменять ФЧ - идея такая. Или иметь не один, а три узла отбора продукта с разным ФЧ и отбирать последовательно из них в сторону увеличения ФЧ. 1 минуту назад, Daniil сказал: А для отбора голов какое ФЧ нужно устанавливать? Да я думаю это другое. Просто зажимом снаружи перекрывать, а дальше кому как и сколько нравится. Покапельно или периодикой. Я обычно перекрываю отбор на пол часика, потом минуту сливаю и выставляю покапельно. А уж сколько по времени - это вы сами решайте и скорость отбора подгоняйте.
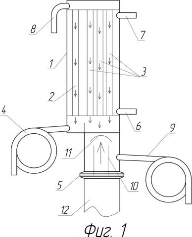
RSM Опубликовано 21 июня, 2024 Опубликовано 21 июня, 2024 @Ал-Крафт ,а вот фиг.1 , которая выше.. Что под цифрами 1,2,3, .....? Можно расшифровать?
Ал-Крафт Опубликовано 21 июня, 2024 Автор Опубликовано 21 июня, 2024 15 минут назад, RSM сказал: Что под цифрами 1,2,3 Это из патента - можно открыть ссылку и почитать в пояснительной записке. Там справа есть патент в ПДФ формате - там и рисунок этот и описание. А ваще я сейчас видео монтирую про похожий на рисунок аппарат - Полуавтомат Калаш. Выложу в оборудовании, наверное.
Jekson Опубликовано 21 июня, 2024 Опубликовано 21 июня, 2024 5 часов назад, Ал-Крафт сказал: Простейший вариант Полуавтомат Калаш 30 см Как минимум 30см? Явно не для квартиры. Что такое полуавтомат калаш? Патент прочитал ещё утром. Как с практикой? Интересна конкретика. Думаю видео узла в действии со всеми техническими деталями (диаметр, высота, скорость отбора, спиртуозность и т. д) уже интересно было бы посмотреть.
Ал-Крафт Опубликовано 21 июня, 2024 Автор Опубликовано 21 июня, 2024 4 минуты назад, Jekson сказал: Явно не для квартиры Да изначально я и не думал о применении в строгой ректификации. Колонна на 4 тарелки или царга до метра. Отбор как по жидкости, но с установленным ФЧ, что бы не надо было выставлять отбор. Человек купил комплект, перегнал брагу вкусную, залил СС, отобрал головы, открыл полностью отбор и получил ароматный спирт на низком ФЧ. Ну что бы хвостов много не напустить - повесил электроклапан. При желании например на 92-94 в кубе руками прикрутил отбор (я о простой версии). Всё. больше-меньше нагрев - ФЧ поддерживается. По сути снаружи отбор по жидкости, внутри как по пару, только принцип разделения другой, а смысл тот же. Потом уже возникла идея изменять площади холодильников и соответственно ФЧ в самом аппарате. Ну или производить отбор из меньшего числа трубок - ну например несколько узлов отбора разной площади или перекрывать часть трубок обора.... 24 минуты назад, Jekson сказал: Думаю видео узла в действии со всеми техническими деталями (диаметр, высота, скорость отбора, спиртуозность и т. д) уже интересно было бы посмотреть. У меня есть первый простой вариант. Он сборный - можно снять в работе, есть первый рабочий на колонну - он не выставочный. но тоже можно - там чуть другая конструкция. А идеальный как раз предстоит сейчас сделать.
Jekson Опубликовано 21 июня, 2024 Опубликовано 21 июня, 2024 1 час назад, Ал-Крафт сказал: Колонна на 4 тарелки или царга до метра. Отбор как по жидкости, но с установленным ФЧ, что бы не надо было выставлять отбор. Человек купил комплект, перегнал брагу вкусную, залил СС, отобрал головы, открыл полностью отбор и получил ароматный спирт на низком ФЧ. Ну что бы хвостов много не напустить - повесил электроклапан. Тут я что то потерялся. У меня в голове только ректификация сложилась. 1 час назад, Ал-Крафт сказал: можно снять в работе, Интересно посмотреть. Думаю больше коллег к обсуждению подтянется. 1
Ал-Крафт Опубликовано 21 июня, 2024 Автор Опубликовано 21 июня, 2024 (изменено) 44 минуты назад, Jekson сказал: У меня в голове только ректификация сложилась. Может я не прав, но для меня дистилляция без флегмы, а с колонной, пусть и на 4 тарелки это же процессы ректификации? Просто ректификация так себешечная... но колонна, флегма, ФЧ, тепломассообмен.... 44 минуты назад, Jekson сказал: Изменено 21 июня, 2024 пользователем Ал-Крафт задвоение
Jekson Опубликовано 21 июня, 2024 Опубликовано 21 июня, 2024 48 минут назад, Ал-Крафт сказал: Просто ректификация так себешечная... но колонна, флегма, ФЧ, тепломассообмен.... Вот я и думаю, что начать нужно с демонстрации работы, посмотреть что с ГХ получится. Сохранится ли изначальный аромат сырья? А так то я первый плюс увидел в этом деле - это при ректе, возможно стабилизация нагрева не будет сильно влиять на стабильную работу колонны. Я не критикую, просто ищу плюсы. 3 часа назад, Ал-Крафт сказал: ароматный спирт
Naruto Опубликовано 22 июня, 2024 Опубликовано 22 июня, 2024 (изменено) Чем это лучше отбора по пару? Где так же всегда фч будет стабильно при неизменных сечениях, плюс имеется возможность настройки фч, в отличии от подобных кт. И давайте не назвать разделением установку фч. Идея не полоха, реализуется она элементарно на любом кт, просто варится узел отбора с "стаканом" отбора под нужным количеством трубок. И решение получается компактнее чем узел отбора по пару с двумя холодильниками Минусы - 1.прямой кт крайне неэффективный дефлегматор, обратный кт (в трубках вода в рубашку пар в 1,5-2 раза эффективнее при тех же габаритах. 2. Собственно габариты, такой кт не поставить горизонтально, для квартир с потолками по 2,5-2,7 это критично. Обычный деф что прямой кт, что обратный, что димрота легко устанавливается в разной степени горизонтальности. И есть ещё нюанс, пар летит равномерно к поверхности только в том случае если Т этих поверхностей одинакова, в рубашке ваших кт жидкость может течь совершенно не равномерно и как минимум надо отказаться от перегородок, подачу воды и ее отвод из рубашки надо организовывать равномерно по всему диаметру КТ Изменено 22 июня, 2024 пользователем Naruto 1
Ал-Крафт Опубликовано 22 июня, 2024 Автор Опубликовано 22 июня, 2024 1 час назад, Naruto сказал: Чем это лучше отбора по пару Да, верно, минус это высота, и сильно большого диаметра низкий ставить не правильно и с точки зрения работы и изготовления. Плюс в том, что в одном корпусе и обычную автоматику можно повесить. Я как раз первый так и сделал - просто узел отбора к готовому КТ 2 дюйма, на три трубки из 9. Второй был не весь трубочный - там трубки были на флегму, а на продукт от холодных стенок. ФЧ получилось 3 примерно. Поэтом у говорю - разделением площадью конденсации, а про трубки это частный случай - любыми поверхностями в теории, хоть это и сложнее организовать чем схема КТ. И изначально задача была на короткие колонны для ароматного продукта - там менее критичны настройки. Снизу пар да - проще, но и доп холодильник нужен. Сверху если, то эффективность намного выше. У меня есть Крафт - там пар подаётся сквозь КТ вверх - вот про него и думаю более сложную версию. Там 16 трубок, 4 можно сделать длиннее и вывести наружу для отбора из всех или хоть одной, а остальные перекрывать или направлять в колонну. А в целом простая версия это Типа по жидкости с начальным заданным ФЧ. Ну у меня первые версии есть - я сниму. 2 часа назад, Naruto сказал: Где так же всегда фч будет стабильно при неизменных сечениях, плюс имеется возможность настройки фч, в отличии от подобных кт. Ну этот тоже можно настраивать от установленного ФЧ и выше, только кран не по пару, а по жидкости. А вот такой вопрос - я не работал по пару, поэтому не в курсе вот чего - в ДЕФ пар идёт вверх, как ему и проще, а в конденсатор его надо затолкать сверху вниз - это влияет на фч? Ну были бы они оба вверх - было бы логичнее, мне кажется.
snab Опубликовано 23 июня, 2024 Опубликовано 23 июня, 2024 11 часов назад, Ал-Крафт сказал: в ДЕФ пар идёт вверх, как ему и проще, а в конденсатор его надо затолкать сверху вниз - это влияет на фч? Ну были бы они оба вверх - было бы логичнее, мне кажется. VM отбор, чего его (пар) заталкивать, только дозируй, вот тебе и ФЧ. 1 «Не стыдно чего-нибудь не знать, но стыдно не хотеть учиться»
Naruto Опубликовано 23 июня, 2024 Опубликовано 23 июня, 2024 (изменено) 15 часов назад, Ал-Крафт сказал: вот такой вопрос - я Пар идет не вверх и не вниз пар идет туда где ниже давление в наших системах это то место где холодные трубки конденсора, пар полетит по трубам в разные стороны парциально сечениям и температурам в охлаждающих контурах, то есть если Т воды в дефлегматоре скажем выше чем в конденсоре, то больше пара улетит в конденсор, то есть два фактора первый соотношение сечений, второй соотношение температур в контурах охлаждения конденосров. Так как при двух разных холодильниках сложно настроить одинаковую Т в контуре (но возможно), то проще подбирать сечения экспериментально, шульман продает шиберы (шайбы с отверстиями разных диаметров) так как краном не всегда получается точно настроить и главное повторить, точнее почти никогда не получается :)). Мы на заводе для перепуска пара между ступенями виганда то же шиберы используем. Один раз подобрал и все. Для конденсоров ещё контроль температуры воды в контуре желателен. В общем никаких проблем сделать и горизонтальный такой холодильник нет при чем обратный, тот же молоток Тора в одной части димрот на флегму в другой димрот на отобор и между ними перегородка узла отбора. Воду контуры подавать одной Т и контролировать подачу воды по подавать по Т выхода воды из холодильников. Ну и в принципе такие вещи можно делать модульные. Я честно не вдупляю что там патентовать то можно было ? По сути это вариант парового отбора где нивелирована разница сечений паропровода. А так то при паровом отборе так же имеет место быть разница в можночти конденсоров, просто она складывается с влиянием сечений паропровода Изменено 23 июня, 2024 пользователем Naruto 1
Ал-Крафт Опубликовано 23 июня, 2024 Автор Опубликовано 23 июня, 2024 3 часа назад, Naruto сказал: Я честно не вдупляю что там патентовать то можно было Ну если это трубки, то там есть проходные сечения, да, и можно привязать к ним и будет по пару, согласен. Но если это к примеру два спиральных холодильника разной длины в одном корпусе или другие одинаково холодные поверхности разной площади? Там нет никаких проходных сечений, а только поверхности конденсации. Вот именно это новый принцип разделения. ну по крайней мере я не слышал раньше такое. А трубки это частный случай. Просто с ними проще организовать конструкцию и процесс.
RSM Опубликовано 23 июня, 2024 Опубликовано 23 июня, 2024 6 часов назад, Naruto сказал: честно не вдупляю что там патентовать то можно было ? По Да не, раз получил патент, то там точно всё в порядке. Вопрос в том, как и насколько эффективно извлечь из этого практическую пользу. Именно это всегда вызывало сложности на пути от патента до практики. Не всегда изобретения оказывались полезными для практиков, оставаясь , тем не менее, изобретениями. Надо бы попробовать.
Ал-Крафт Опубликовано 23 июня, 2024 Автор Опубликовано 23 июня, 2024 15 минут назад, RSM сказал: всегда вызывало сложности на пути от патента до практики Да, не просто это))) Ну вот пока самое практичное, что получилось - это Полуавтомат Калаш. Я сниму видео. Простой, совсем не дорогой вариант По жиже с предустановленным ФЧ. Более сложные конструкции интереснее, но дороже - уже более штучные как бы. Конечно я хочу после Добровара оставаться в этой теме и этим заниматься и ищу возможности, а здесь ещё и критику, что бы сделать что то достойное. Хотя мне Калаш нравится)))
ComandanteFi Опубликовано 26 июня, 2024 Опубликовано 26 июня, 2024 Идею я уже где-то читал, и давно. А реализацию, как мне кажется, можно сделать и проще. Пятитрубный КТХ, под ним в мини-царге делаем перегородку с положительным наклоном, как в нижней части перегородочного УО, и слив наружу из этой "пазухи". Размер перегородки таков, чтобы в нее попадала флегма только из одной трубки КТХ. Снаружи бублик и дохлик. Остальное и так вниз льется. четыре трубки флегму возвращают, одна выводит. Придушили кран на сливе из пазухи - слив из нее через край вниз. Так что, сорри, но "...в изобретении много нового и интересного. Жаль, что интересное не ново, а новое не интересно." (С)
Master_1 Опубликовано 26 июня, 2024 Опубликовано 26 июня, 2024 3 часа назад, ComandanteFi сказал: А реализацию, как мне кажется, можно сделать и проще Самая простая реализация это кран, Но, делаем простой эксперимент, выставляем не старте ф/ч 4 крепость 96.65, (с крепостью может быть засада) и смотрим какая у нас будет крепость к концу ректа. 3 часа назад, ComandanteFi сказал: ..в изобретении много нового и интересного Ничего нового, больше 10лет на форуме эта тема постоянно всплывает, от новичков. Это не для кубовой ректификации, а в непрерывке отбор и так стабилен, выставляется один раз. 1
Рекомендуемые сообщения
Для публикации сообщений создайте учётную запись или авторизуйтесь
Вы должны быть пользователем, чтобы оставить комментарий
Создать аккаунт
Зарегистрируйте новый аккаунт в нашем сообществе. Это очень просто!
Регистрация нового пользователяВойти
Уже есть аккаунт? Войти в систему.
Войти