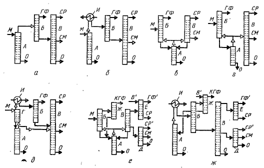
Iceberg Опубликовано 3 марта, 2019 Опубликовано 3 марта, 2019 (изменено) В данной ветке рассуждаем о непрерывной ректификации. Вот ее виды: представлен пятью основными компонентами или группами компонентов: этиловым спиртом (С), головными примесями (Г), промежуточными примесями (Я), концевыми примесями (К) и хвостовыми (X). Концевые и промежуточные примеси влокальных условиях могут быть отнесены к головным или хвостовым, поэтому рассматриваемую смесь можно привести к трех-компонентной (С, Г, X). Для разделения трехиомпонентной смесидостаточно иметь 2 колонны, соединенные по одному из вариантов, приведенных на рис. 10 а.В практике ректификации спирта-сырца применяют схемы,построенные как по первому, так и по второму варианту, однакопреимущественное распространение получил первый из них. Моя установка построена по второму принципу, с частичным использованием первого. ТО есть уже на стадии перегонки браги частично извлекаются головы и сивуха. На фото левая колонна бражно-эпюрационная, она разделена пароотводом в центре (почти) колонны. Снизу бражная сверху эпюрационная. Далее СС по пару (самотеком) переходит во РК, а из него спирт в жидком виде, опять же, самотеком перетекает в КОО. Все. п.с. Чтобы не отвечать постоянно на один и тот же вопрос,пишу ТТХ установки. Потребляемая мощность около 3 Кв/ч, скорость отбора около литра в час, крепость не ниже 96.6 Спирт проходит любой ГОСТ с запасом. Специфические запахи отсутствуют. Работает непрерывно, пока есть брага, электричество, не сгорит ТЭН или насос. Шланг на насосе меняется в процессе производства. Установка работает при температуре от минус 20 до плюс 45. За исключением электроники срок службы пожизненный, пока не сгниет нержавейка. В настоящее время установка не продается по причине неготовности автоматики. В будущем, Бог позволит, планируется. О чем сообщу дополнительно желающим. Предполагаемая цена около 10 штуков европейских ряпчиков. Габариты установки умещаются в шкаф 500*1000*2500 с запасом. Изменено 4 марта, 2019 пользователем Iceberg 1 Айсберг - гибель титаников. Довольствоваться достигнутым - регресс. Стремление к совершенству - прогресс.
Iceberg Опубликовано 3 марта, 2019 Автор Опубликовано 3 марта, 2019 (изменено) ЭК-БК-РК-КОО она же (ЭК) так. Рабочие схемы: Изменено 3 марта, 2019 пользователем Iceberg Айсберг - гибель титаников. Довольствоваться достигнутым - регресс. Стремление к совершенству - прогресс.
alexkostroma Опубликовано 3 марта, 2019 Опубликовано 3 марта, 2019 И сколько стоит примерно (железо), без автоматики? сколько насадки нужно? Кубы по индивидуальным заказам; Царги нерж. полтора и два дюйма.
anfos Опубликовано 3 марта, 2019 Опубликовано 3 марта, 2019 [b][member=alexkostroma][/b], никаких вопросов, 10тонн евреев и щастье будет, вроде как)))
Optimist Опубликовано 3 марта, 2019 Опубликовано 3 марта, 2019 И сколько стоит примерно Алексей, разве здесь коммерчесий раздел, что бы задавать подобные вопросы. ИМХО[member=Iceberg],не понятно со схемами и рисунками, это фото мы уже видели.
Iceberg Опубликовано 3 марта, 2019 Автор Опубликовано 3 марта, 2019 (изменено) Про стоимость. Я уже говорил. не продается, пока. В будущем, если ничего не изменится, цена около 10 штук еврорублей. Не продается по причине неготовности автоматики. Железо не продается, по причине "объяснять как работать". Я пару агрегатов своим родственникам сделал, они меня достали вопросами. Так что торговлю здесь не обсуждаем. Если кому ну очень хочется раскошелится вопросы в личку. п.с насадки в данном варианте около 10 литров тройки. Принцип работы эпюрации браги. Изменено 3 марта, 2019 пользователем Iceberg Айсберг - гибель титаников. Довольствоваться достигнутым - регресс. Стремление к совершенству - прогресс.
anfos Опубликовано 3 марта, 2019 Опубликовано 3 марта, 2019 ну очень хочется раскошелится вопросы в личку не, походу "так ты слона не продашь"
Пчёл Опубликовано 3 марта, 2019 Опубликовано 3 марта, 2019 [member=Iceberg],Так это и есть тот самый вариант НБК-ЭК...Без насосов тут ничего толком не сделать.Где тут тоё ноу,не понимаю,всё заточенно на спиртуозности в реальном времени.
CTAPbIU Опубликовано 3 марта, 2019 Опубликовано 3 марта, 2019 (изменено) Без насосов тут ничего толком не сделать. Володь, там два перистальтических насоса с процессорным (КМК) управлением, на первом видео видно было... Изменено 3 марта, 2019 пользователем CTAPbIU Errare humanum est! (L.A.Seneca)
Пчёл Опубликовано 3 марта, 2019 Опубликовано 3 марта, 2019 [member=CTAPbIU],я видео не смотрел.Остальное как я понял,только компоновка. Ладно,поупоглазил,ухожу,не моё.
CTAPbIU Опубликовано 3 марта, 2019 Опубликовано 3 марта, 2019 [b][member=Пчёл][/b], А там кроме работы этих двух насосов и не было ничего :sarcastic: Даже что гоняют было не понятно... Один-то точно брагу :laugh: Errare humanum est! (L.A.Seneca)
firt Опубликовано 3 марта, 2019 Опубликовано 3 марта, 2019 (изменено) Тема про конкретную конструевину, или вобщем про неприрывную ректификацию? У меня как то попроще все, но возникла проблема с промежуточными, забросил пока за отсутствием времени, да и склоняюсь уже что не надо оно мне. Изменено 3 марта, 2019 пользователем firt
Iceberg Опубликовано 3 марта, 2019 Автор Опубликовано 3 марта, 2019 На старом видео два насоса, один качает воду в НПГ, второй подает брагу. Это видео почти пятилетней давности. Сейчас в качестве источника пара служит барда. Хочу отметить, при переходе с воды на барду пришлось переделать НБК. Сильное вспенивание не позволило работать на старой колонне. Про промежуточные примеси,это серьезная проблема. Чтобы от них избавиться полностью, требуется отбирать головы и в начале и в конце. Особенно это актуально на бражках где присутствует метанол. У меня есть где-то видео, когда установка работала в мороз. Если найду на старом телефоне - выложу. Айсберг - гибель титаников. Довольствоваться достигнутым - регресс. Стремление к совершенству - прогресс.
Пчёл Опубликовано 3 марта, 2019 Опубликовано 3 марта, 2019 [member=Iceberg],Так что же ты там в давлении то умерил?Смотрю аж три манометра воткнул.Вопросов много,но задавать не интерено даже,всё равно ведь соврёш.
Iceberg Опубликовано 3 марта, 2019 Автор Опубликовано 3 марта, 2019 Что тут дивного, на три трубы - три манометра... надо же как-то контролировать процесс Пчел, а ты уже нашел ответ на мой вопрос, что мы измеряем давлением?! Айсберг - гибель титаников. Довольствоваться достигнутым - регресс. Стремление к совершенству - прогресс.
anfos Опубликовано 3 марта, 2019 Опубликовано 3 марта, 2019 что мы измеряем давлением? изумительное сочетание слов 2
Пчёл Опубликовано 3 марта, 2019 Опубликовано 3 марта, 2019 [member=Iceberg],Так вот тебя и спрашиваю об этом.А я в своей трубе смотрю,что бы до указаных давлений Алкобрата не упала(((
Iceberg Опубликовано 3 марта, 2019 Автор Опубликовано 3 марта, 2019 Что у Сержа совсем плохо.. с давлением? :sarcastic: [b][member=anfos][/b], ващет я серьезно... сколько я спрашивал мне на это никто ничего внятно не ответил...шок((( Здесь вообще есть грамотный народ, или только спецы типа " а поговорить?" :laugh: Еще раз вопрос, что мы измеряем давлением и для чего, ответить слабо? Айсберг - гибель титаников. Довольствоваться достигнутым - регресс. Стремление к совершенству - прогресс.
anfos Опубликовано 3 марта, 2019 Опубликовано 3 марта, 2019 что мы измеряем давлением и для чего, ответить слабо? ей богу слабО! примерно так же трудно ответить на вопрос "что мы измеряем плотностью (весом,температурой,расстоянием)" тут ответить может не только лишь всякий, мало кто ответит)))))
Master_1 Опубликовано 3 марта, 2019 Опубликовано 3 марта, 2019 что мы измеряем давлением и для чего, ответить слабо? При первом запуске колонны ищем захлёбное, а дальше манометр нужен чтоб дырку заткнуть.
Пчёл Опубликовано 3 марта, 2019 Опубликовано 3 марта, 2019 [member=Iceberg],Воочка,давление лично мне не на ...!Мода,прешедшая с времён мамонтов,когда со стиралок ставили регуляторы.Поезд ушёл,клоуны остались(((, вернее привычка осталась.Можеш и свои выкинуть,они у тебя тоже от фонаря стоят.
Iceberg Опубликовано 3 марта, 2019 Автор Опубликовано 3 марта, 2019 (изменено) ищем захлёбное Слава Богу, хоть кто-то на предметный разговор отозвался. Итак, я перевожу, ищем рабочее давление, я правильно перевел? Мода,прешедшая с времён мамонтов оригинально, сэр... Но у меня на давлении три кита колонны держатся. Изменено 3 марта, 2019 пользователем Iceberg Айсберг - гибель титаников. Довольствоваться достигнутым - регресс. Стремление к совершенству - прогресс.
Mr. N Опубликовано 3 марта, 2019 Опубликовано 3 марта, 2019 Все ж легко... весом - ожирение, температурой - здоровье, растоянием- время в пути, временем - долго ли до пятницы, давлением - количество флегмы, и возраст пациента.. Вовочка, раскажи лучше про нбк пленочную, глухим паром обогреваемую, вы же с нахпрофессором ее продвигали на хд? Реально интересно какие результаты были..
Iceberg Опубликовано 3 марта, 2019 Автор Опубликовано 3 марта, 2019 [b][member=Mr. N][/b], Все правильно, но это надо перевести в рабочую формулу на которой строится алгоритм ректификации. Я еще раз и на полном серьезе призываю к дискуссии тех, кто заинтересован в качестве своего продукта. А так же скорости отбора. Айсберг - гибель титаников. Довольствоваться достигнутым - регресс. Стремление к совершенству - прогресс.
Рекомендуемые сообщения